News items you should check out: March 31
Since I can’t cover everything, I’ll often direct your attention to articles of interest. To wit: ° From Bloomberg: Apple has gained for 11 straight trading days on the New York Stock Exchange. ° From AppleInsider: Apple’s Craig Federighi has outlined how the...
Apple tweaks dating app payment requirements on the App Store (in the Netherlands only)
Apple has informed developers that those making dating apps on the App Store in the Netherlands that use an alternative payments system no longer need to create and use a separate binary. They can accept alternative payments in their existing dating apps....
Apple purportedly plans to bring more of its financial services in-house
A Bloomberg report says that Apple is planning to bring more of its financial services in-house such as lending risk assessment, fraud analysis, credit checks, and dispute handling. The project — dubbed “Breakout” — may also include tools for calculating interest,...
Apple TV+’s ‘CODA’ returning to theaters Friday for limited run
Apple TV+’s three-time Oscar winner, “CODA,” is returning to theaters this Friday for a limited run in over 600 locations, reports Deadline. The film will be available with open captions to be accessible to the Deaf and hard of hearing. On Sunday “CODA” landed...
Apple TV+ series nominated for eight BAFTA TV Awards
Apple TV+ series have been nominated for eight BAFTA TV Awards for 2022. Winners will be announced on May 8. The BAFTA TV Awards, or British Academy Television Awards are presented in an annual award show hosted by the BAFTA. They have been awarded annually since...
Apple announces $50 million Supplier Employee Development Fund
Apple has announced a US$50 million Supplier Employee Development Fund designed to expand access to learning opportunities and skills development. About the Supplier Employee Fund The tech giant says that the fund also includes new and expanded partnerships with...
Patent trollin’: Arigna Tech accuses Apple, others of patent violations
The U.S. International Trade Commission says it will investigate Apple and other tech firms regarding a patent violation complaint regarding “power semiconductors with envelope tracking modules, and products such as mobile devices, tablets, and laptop computers...
Apple faces another Netherlands lawsuit over alleged anti-competitive practices
Another day, another lawsuit. Apple faces a new multi-billion euro lawsuit out of The Netherlands by the Consumer Competition Claims Foundation that claims the tech giant overcharges users who purchase apps and in-app subscriptions through the App Store. The...
Apple will reports its second fiscal financial results on April 28
Apple will report its earnings results for the second fiscal quarter of 2022 on Thursday, April 28, at 2 p.m. (Pacific). You’ll be able to listen on an iPhone 7 or later, iPad (5th generation or later), or iPod touch (7th generation) using Safari on iOS 12 or...
The Omni Group has released OmniPlan 4.4 for the Mac, iPad, iPhone
The Omni Group has released OmniPlan 4.4 for the Mac, iPad, and iPhone. It’s an update of the tool that allows you to manage simple or complex problems. A feature release (particularly for international project managers), OmniPlan 4.4 adds localization across...
OWC Introduces Flex 1U4 4-Bay Thunderbolt Rackmount Storage, Docking Solution
OWC has announced the US$1,899 OWC Flex 1U4 4-Bay Thunderbolt rackmount storage and docking Solution. It’s designed for a variety of rackmount workflow possibilities. It usese a mix of 2.5 or 3.5-inch SATA/SAS and U.2/M.2 NVMe drives in the hot swappable drive...
News items you should check out: March 30
Since I can’t cover everything, I’ll often direct your attention to articles of interest. To wit: ° From MacRumors: Apple Stores and Apple Authorized Service Providers will now be alerted if an iPhone has been reported as missing in the GSMA Device Registry when...
Apple TV+ announces ‘Dark Matter’ series based on the hit novel
Apple TV+ has landed “Dark Matter,” a new nine-episode series based on the hit book by Blake Crouch. (I’ve read the book and highly recommend it.) Starring Joel Edgerton (“Obi-Wan Kenobi,” “Boy Erased,” “Loving”), who also serves as executive producer, the series will...
Apple, Major League Baseball announce 12 weeks of ‘Friday Night Baseball’ starting April 8
Apple and Major League Baseball (MLB) have announced the first half of the 2022 “Friday Night Baseball” schedule. These scheduled games are available to anyone with internet access, for free, only on Apple TV+. “Friday Night Baseball” will premiere April 8 with...
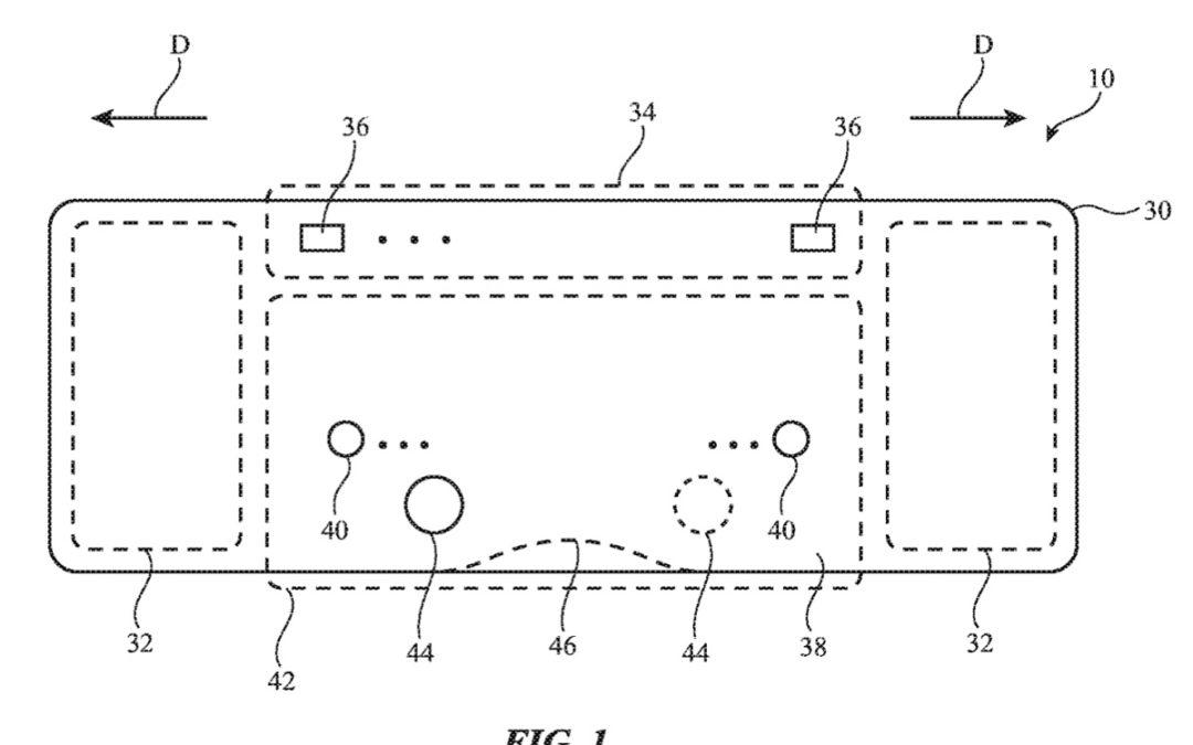
Apple Mask, anyone? Apple looks into a sleep mask with speakers, sensors
Apple Mask, anyone? A newly granted patent (number 11,290,818) shows that Apple is looking into a sleep mask with speakers and sensors. About the patent filing Electronic devices such as headphones may be worn by people who desire to listen to audio content....
Apple TV+ posts trailer for upcoming series, ‘Shining Girls’
Apple TV+ has released the trailer for the upcoming series “Shining Girls,” starring and executive produced by Emmy Award-winning actress Elisabeth Moss. The metaphysical thriller will make its worldwide debut on Friday, April 29, 2022 with the first three...
Apple files lawsuit over missed deadlines for Toronto skyscraper
Apple has filed a lawsuit against Sam Mizrahi’s company over missed deadlines involving the developer’s long-planned 85-story skyscraper in downtown Toronto, reports The Globe and Mail. The tech giant says it’s “disappointed” in the company and is owed millions...
News items you should check out: March 29
Since I can’t cover everything, I’ll often direct your attention to articles of interest. To wit: ° From 9to5Mac: Apple investment in US technology is likely to be boosted in response to the Ukraine crisis demonstrating the fragility of over-dependence on Taiwan and...
Report: Apple has a large base of users that would adopt an iPhone subscription service.
Apple is planning a new hardware subscription service that would allow customers to “subscribe” and receive an iPhone, iPad, and maybe other devices as part of their subscription, reports Bloomberg. Consumers would pay a monthly fee to use an iPhone bundled with...
Apple TV+’s ‘CODA’ wins historic Oscar for Best Picture at the Academy Awards
As I predicted on March 13, Apple TV+’s “CODA” has won the Academy Award for Best Picture of 2022. It also took home two other Oscars. Apple made history on Sunday after “CODA” landed three Academy Awards from the Academy of Motion Picture Arts and Sciences, with wins...
Apple ranks 65th on the on the 2022 Global RepTrak 100 (GRT)
Apple ranks 65th on the on the 2022 Global RepTrak 100 (GRT), a ranking and analysis of corporate reputation for the world’s leading companies. That’s down from 46th place in the 2021 rankings. The report showcases how people feel, think, and act towards companies...
Samsung’s new M8 a smart monitor series look like 24-inch iMacs
Samsung Electronics has announced its latest Smart Monitor series, the M8, which come in four new colors — Warm White, Sunset Pink, Daylight Blue and Spring Green — and are available in 32-inches with UHD resolution and a SlimFit Cam. With a look akin to that of...
Apple reportedly will produce 20% fewer iPhone SEs than originally planned
Apple plans to make about 20% fewer iPhone SEs next quarter than originally planned, in one of the first signs that the Ukraine war and looming inflation have started to dent consumer electronics demand, reports Nikkei Asia, quoting unnamed sources. The article adds...
Apple TV+ shares inside look at upcoming drama, ‘Slow Horses’
Apple TV+ has shared an inside look at the upcoming drama, “Slow Horses,” on its YouTube channel. The espionage series stars Academy Award winner Gary Oldman. Adapted from CWA Gold Dagger Award-winning Mick Herron’s first novel in the “Slow Horses” series, the...
News items you should check out: March 26
Since I can’t cover everything, I’ll often direct your attention to articles of interest. To wit: ° From Bloomberg: Apple is again paying a small number of engineers another round of special stock bonuses as part of an unusual push to retain key talent ° From...
Apple TV+’s ‘CODA’ ranks seventh in streaming popularity among Best Picture nominees
According to JustWatch, an international streaming guide, Apple TV+’s “CODA” ranks seventh on the list of Best Picture nominees that are the most streamed. That’s up one notch from last week.The Oscars ceremony is this Sunday, March 27, at 7 pm (Central). “Nightmare...
Apple’s iPhone sales grow 8.6% quarter on quarter in GCC region
Newly released data from IDC’s Worldwide Quarterly Mobile Phone Tracker shows that shipments of mobile phones to the Gulf Cooperation Council (GCC) region grew 8.3% quarter on quarter (QoQ) in quarter four (Q4 2021 to total 6.10 million units. Apple saw its iPhone...
Apple TV+’s ‘Severance’ ranks second in Reelgood’s top streaming titles this week
Reelgood, a a U.S. movie and TV streaming search engine, published its weekly Top 10 Titles in Streaming for this week (03/17/22 to 03/23/22). The new Pixar movie Turning Red (Disney+) is this week’s most-watched title just two weeks after its release on March 11....
International drama, ‘Pachinko,’ now streaming on Apple TV+
The international drama, “Pachinko” (which is getting great reviews), is now streaming on Apple TV+. It debuts with the first three episodes followed by one new episode weekly each Friday during its eight-episode season through April 29. The series is based on the...
Alto’s Adventure-Remastered is now available on Apple Arcade
Alto’s Adventure-Remastered is now available on Apple Arcade, Apple’s U.S.$4.99/month or $49.99/year game streaming service that has over 200 games. Apple Arcade is also available as part of the Apple One bundle. The game is available for the iPhone, iPad, Mac, and...