According to a new Apple patent (number 20120235510) at the U.S. Patent & Trademark Office, Apple wants to shake things up on its iOS devices. Literally.

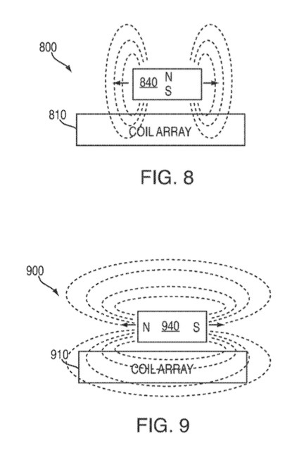
The patent, for harnessing power through electronic induction utilizing printed coils, would let you shake an iPhone, iPod touch or iPad to re-charge ’em. Per the patent, a system can include one or more moveable magnets adjacent to printed coils on a circuit. For example, a system can include one or more magnets that are operative to move alongside a circuit board that includes printed coils.

The one or more magnets may move, for example, when a user shakes the system or when the user walks or runs while holding the device. The movement of the one or more magnets may create an electromotive force (e.g., a voltage) across the printed coils, and this force may be used to generate electric power.

Here’s Apple’s background on the invention: “Traditional systems for harnessing power through electromagnetic induction involve wire coils, a magnet, and relative movement between the two. To achieve meaningful output power, a traditional system typically includes thick coils of wire that add to the system’s overall size. Moreover, the wire coils and magnet of a traditional system are often housed in an inefficient manner that further adds to the system’s overall size. ”

The inventors are Gloria Lin, Pareet Rahul, Michael Rosenblatt, Taido Nakajima, Bruno Germansderfer and Saumitro Dasgupta.