News items you should check out: Feb. 26
Since I can’t cover everything, I’ll often direct your attention to articles of interest. ° From Business Insider: Customers of banks targeted by Russia sanctions are unable to use Apple Pay or Google Pay° From AppleInsider: Apple CEO Tim Cook has expressed his...
Two more join cast of Apple TV+’s upcoming limited series, ‘Manhunt’
Anthony Boyle and Lovie Simone are set as leads alongside Tobias Menzies in “Manhunt,” Apple TV+’s upcoming limited series about the President Lincoln’s assassination, reports Deadline. Tobias Menzies plays Edwin Stanton, Lincoln’s War Secretary and friend, who was...
Apple, Amazon supposed the front-runners for NFL’s ‘Sunday Ticket’
Apple and Amazon as the front-runners to get the NFL’s out-of-market package, “Sunday Ticket,” reports Sports Business. The article says that “because negotiations are ongoing, it’s difficult to determine exactly where the bids are, but sources said it’s likely that...
Apple TV+’s ‘Severance’ among this week’s top 10 streaming programs
The team at Reelgood, a U.S. movie and TV streaming search engine, just published the Weekly Top 10 Titles in streaming for this past week. And Apple TV+’s “Severance” nabbed the 10th spot on the list. The top 10 includes, in descending order: HBO’s show...
Apple led the global smartphone market in 2021 revenue thanks to the iPhone 13
Apple led the global smartphone market in 2021 revenue with annual revenue of US$196 billion, according to new data from Counterpoint Research. The iPhone maker, China’s realme, and Motorola recorded their highest ever quarterly revenues in quarter four (Q4) of 2021....
Gibbon: Beyond the Trees is now available on Apple Arcade
Gibbon: Beyond the Trees is now available on Apple Arcade, Apple’s U.S.$4.99/month or $49.99/year game streaming service that has over 200 games. Apple Arcade is also available as part of the Apple One bundle. The game is available for the iPhone, iPad, Mac and Apple...
Volvo is equipping its service technicians with Apple Watches
Volvo is equipping its service technicians with Apple Watches to help build customer success outcomes — “and it’s working,” according to a ComputerWorld report. The article says the auto maker has seen a big improvement in customer satisfaction after equipping its...
Apple TV+ releases trailer for ‘WeCrashed’ limited series
Apple TV+ has unveiled the trailer for “WeCrashed,” giving a glimpse into the limited series starring Academy Award and SAG Award winners Jared Leto and Anne Hathaway, and based on the hit Wondery podcast “WeCrashed: The Rise and Fall of WeWork.” From Lee...
Consumers spend more on subscription-based apps downloads from the Apple App Store than on Google Play
Worldwide consumer expenditure in mobile apps reached new highs yet again in 2021, and Sensor Tower Store Intelligence data reveals that mobile users are spending more than ever in subscription apps. As in previous years, consumers spent more on...
News items you should check out: Feb. 25
Since I can’t cover everything, I’ll often direct your attention to articles of interest. ° From MacRumors: Apple is finally catching up to demand for its latest 14-inch and 16-inch MacBook Pro, with wait times for both models in lower-end configurations substantially...
Apple named the U.S.’s most relevant brand for seventh consecutive year
For the seventh year in a row, Apple has been named the United State’s most relevant brand in the annual Brand Relevance Index from Prophet. It’s based on 13,000 consumers in the U.S. who were asked which brands were most relevant in their lives, and why. Here’s...
Apple Al Maryah Island opens Friday in the heart of Abu Dhabi
Apple has previewed Apple Al Maryah Island, a new retail destination elevated above steps of cascading water. The new store creates a direct connection from The Galleria Al Maryah Island to the water’s edge, delivering the best of Apple with shoreline views amid Abu...
Plugable Introduces New Line of Graphics Adapters
Plugable has launched three new graphics adapters: the USB 3.0 and USB-C to Dual HDMI Adapter (UGA-HDMI-2S), the USB 3.0, and USB-C to HDMI Adapter (UGA-HDMI-S) and the USB 3.0 and USB-C to DisplayPort Adapter (UGA-DP-S). All provide a way to incorporate...
Sacha Baron Cohen in talks to join cast of Apple TV+’s ‘Disclaimer’
Deadline reports that’s Oscar nominee Sacha Baron Cohen (“Borat,” “The Trial of the Chicago Seven”) is in talks to join the cast of “Disclaimer,” a new original series from the multi-Academy Award, Golden Globe and BAFTA Award-winning director, writer, producer,...
News items you should check out: Feb. 24
Since I can’t cover everything, I’ll often direct your attention to articles of interest. ° From Variety: Nearly a month after it was announced that Apple had landed a slate of live action films from longtime Paramount Pictures partner Skydance, Hollywood is still...
Study: there’s ‘significantly’ more interest in hacking the Android OS than iOS
Rublon, a two-factor authentication firm, has released a report showing which smartphone brands attract the highest interest from hackers worldwide. The platform examined the number of searches for terms like “how to hack an Android phone”, “how to hack an...
Report: the Mac sees 13.4% quarterly growth; the iPad still dominates the tablet market
U.S. personal computer shipments (including tablets) grew 1% in 2021, despite suffering a 28% fall in quarter four (Q4) 2021, reports the Canalys research group. Apple had a great quarter with the Mac seeing 13.4% growth, and the iPad still dominating the tablet...
Apple releases fourth public betas of macOS 12.3, iOS 15.4, iPadOS 15.4, tvOS 15.4, watchOS 8.5
Apple has released the fourth public betas of macOS 12.3, iOS 15.4, iPadOS 15.4, tvOS 15.4, and watchOS 8.5. Public betas are available on Apple’s Beta Software Program website. Just remember that beta software is unfinished software, so proceed with care. Apple...
iPhones continued to lead the top five devices turned in through trade-in and upgrade programs
Assurant, Inc., a global provider of lifestyle and housing solutions, says that US$3.1 billion was returned to U.S. consumers in 2021 through mobile device trade-in and upgrade programs. This is almost $1 billion more than the $2.1 billion returned in 2020, and...
Apple TV+ releases trailer for its upcoming series,’Pachinko’
Apple TV+ has released the trailer for “Pachinko,” its sweeping drama series told across three languages – Korean, Japanese, and English. About the series Here’s how ’Pachinko’ is described: Epic in scope and intimate in tone, the story begins with a forbidden...
Lawsuit against Apple, M. Night Shyamalan regarding ‘Servant’ can continue
An appeals court has ruled that the director of the 2013 film “The Truth About Emanuel” may proceed with her lawsuit against Apple and filmmaker M. Night Shyamalan regarding the “Servant” series, reports AppleInsider. The case was dismissed in May of 2020, when Judge...
Apple praises Dutch police, customers, staff for response to hostage situation
Apple has praised Dutch police as well as customers and staff at an Amsterdam store where a hostage situation Tuesday came to a close with no injuries to the public and the suspect detained in custody. In a statement obtained by TechCrunch, the tech giant had this to...
Samsung Electronics holds the highest number of patents globally
Be a patron to read this exclusive content!To view this content, you must be a member of Apple's Patreon at $5 or moreAlready a qualifying Patreon member? Refresh to access this content.
News items you should check out: Feb. 23
Since I can’t cover everything, I’ll often direct your attention to articles of interest. ° From MacRumors: The iPhone 14 could offer better battery life and feature Wi-Fi 6E connectivity thanks to a new 5G chip, supply chain sources claim. ° From Bloomberg:...
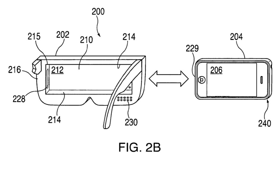
Patent hints that the first version of ‘Apple Glasses’ will be powered by an iPhone
There’s been speculation that the first version of the “Apple Glasses” — Apple’s rumored augmented reality/virtual reality headset — will be powered by an iPhone. A newly granted patent (number 11,258,891) for a “head-mounted display apparatus for retaining a portable...
Apple wants to keep you and your companions up-to-date on weather changes when you’re traveling
Apple wants your iPhone to keep you and your companions up-to-date on the weather based on your travel plans. The tech giant has been granted a patent (number 11,256,731) for “dynamic location search suggestions based on travel itineraries.” About the patent In...
Emmy Rossum joins cast of Apple TV+’s ‘The Crowded Room’
Emmy Rossum (“Shameless,” “Angelyne”) has been tapped as a lead opposite Tom Holland and Amanda Seyfried inApple TV+’s “The Crowded Room,” reports Deadline. She’ll play the mother of Holland’s character (Danny). Seyfried plays Rya, a clinical psychologist faced with...
‘The Snoopy Show’ returns for season two on Apple TV+ March 11
Apple has released the official trailer for season two of “The Snoopy Show,” which is set to premiere with all six episodes Friday, March 11 on Apple TV+. Peanuts fans all around the world can also look forward to two brand new Peanuts specials coming soon to Apple...
Apple releases fourth developer betas of macOS 12.3, iOS 15.4, iPadOS 15.4, tvOS 15.4, watchOS 8.5
Apple has released the fourth developer betas of macOS 12.3, iOS 15.4, iPadOS 15.4, tvOS 15.4, and watchOS 8.4. Registered developers can download the betas via Apple’s developer portal. Or they can be downloaded over-the-air once the proper configuration profile has...
Gadget Guard Offers $350 Insurance Coverage for Broken iPhone 13 Screens
Gadget Guard has announced that its product insurance program, GuardPlus, has upped its coverage offering from US$250 to $350 for device screen repairs or replacements. GuardPlus $350 is available with Ultrashock Screen protectors for the iPhone 13 product...