Apple is at least considering a pen/stylus-based input system (as well as voice recognition) for future Macs. A patent (number 7894641) for a method and apparatus for acquiring and organizing ink information in pen-aware computer systems has appeared at the US Patent & Trademark Office.

An ink manager running at a computer system receives ink information entered at a pen-based input/display device and accumulates the ink information into ink strokes. The ink manager communicates with a handwriting recognition engine and includes an ink phrase termination engine that is configured to detect the occurrence of one or more ink phrase termination events by examining the ink information.

Upon the occurrence of an ink phrase termination event, the ink manager notifies the handwriting recognition engine and organizes the preceding ink strokes into an ink phrase data structure. The ink manager may also pass the ink phrase to an application executing on the computer system that is associated with the ink information, and it, in response, may return a reference pointer and a recognition context to the ink manager. The reference pointer and recognition context are then appended to the ink phrase data structure. The inventors are Larry S. Yaeger, Richard W. Fabrick II and Giulia M. Pagallo.

Here’s Apple’s background and summary of the invention: “Computers, such as personal computers, often include one or more input devices, such as a keyboard and a mouse, that allow a user to control the computer. More sophisticated input devices include voice-recognition input systems and ‘pen’ or stylus based input systems. With pen-based input systems, the user relies on his or her own handwriting or drawing to control or operate the computer.

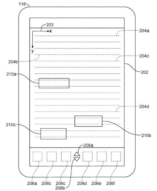
These input systems typically include a hardware device called a ‘tablet’ that is connected to the serial port of the computer. The tablet may include an integrated display screen so that the tablet can serve as both an input and an output device. When operating as an input device, the tablet senses the position of the tip of the pen as it moves across the tablet surface and provides this information to the computer’s central processing unit. To provide the user with visual feedback as the pen moves, the computer typically displays ‘ink’ (i.e., a path of pixels tracing the pen’s movement) simulating the ink dropped by a real pen. If the tablet has an integrated display screen, this electronic ink is typically drawn directly beneath the tip of the moving pen. For an opaque, input-only tablet, the ink is typically drawn on a normal computer screen to which the tablet has been ‘mapped.’Whether integrated with the tablet or not, the screen typically displays standard computer-generated information, such as text, images, icons and so forth.

“In addition to the tablet, pen-based computers also have a software pen driver that interfaces with the tablet and periodically samples the position of the pen, e.g., 100 times a second. The pen driver passes this ink data to an ink manager that organizes it and coordinates the recognition process. Specifically, the ink manager organizes the ink data into ink strokes, which are defined as the ink data collected until the pen is lifted from the tablet. The ink manager passes the ink strokes to a recognizer that employs various tools, such as neural networks, vocabularies, grammars, etc., to translate the ink strokes into alpha-numeric characters, symbols or shapes. The recognizer may generate several hypotheses of what the ink strokes might be, and each hypothesis may have a corresponding probability. The hypotheses are then provided to an application program which may treat the recognized ink data as an input event.

“With Pen Services for Windows 95 from Microsoft Corporation, ink strokes are organized into pen input sessions. See Programmer’s Guide to Pen Services for Microsoft Windows 95 (1995 Microsoft Press). A pen input session begins as soon as the user touches the pen to the tablet and ends when the user taps the pen outside of the writing area (e.g., tapping an OK button) or a brief period of inactivity elapses. A new session begins when the user resumes writing. All of the ink strokes corresponding to a given pen input session are accumulated into a single pen data object. An application program associated with the pen input session can basically choose one of two modes of operation.

“First, the application can choose only to receive the recognition results, thereby allowing the system to process and organize the ink data based on its default settings and to interface with a default recognizer. Alternatively, the application program can request the ‘raw’ ink data and process it in any number of ways. For example, it can buffer the data to delay recognition or it can throw the data away. This ink data is provided to the application on a stroke-by-stroke basis. If the application wishes to have the data recognized, it passes the raw ink data to the recognizer itself. Any special recognition requirements, such as field-specific recognition contexts (e.g., name, address, social security, or other types of input fields), and any unique affiliations between ink input sessions and specific input fields must also be determined on a stroke-by-stroke basis, typically based upon the first stroke that is received.

“This collection and organization of ink data into pen input sessions on such a stroke-by-stroke basis has several disadvantages. As noted, to associate ink data with a particular data entry field, the system generally relies solely upon the location of the first ink stroke entered by the user. If a pen input area is declared and subsequent strokes extend outside of that area, the system will not associate those strokes with the data entry field, even though the user may have intended these subsequent ink strokes to be a part of that data entry field. Further, if that first stroke is only slightly misplaced (e.g., if the cross-bar of a capital ‘T’ is drawn first and written too high), the entire subsequent session may be affiliated with the wrong input field. Associating ink with the wrong input field may result in the recognition results flowing to the wrong place, and, if a special recognition context is used for each input field (e.g., name vs. address vs. social security fields, etc.), the wrong context may be applied during recognition.

“Even systems that attempt to improve this situation by using each stroke to determine the input field anew, such as the Apple Newton from Apple Computer Inc. of Cupertino, Calif., can suffer from failure modes that make the situation difficult both for end users and for application developers. For example, a word that accidentally spans two input fields even a tiny amount (due, for instance, to a stray ascender, descender, crossbar, or dot) may be broken up into multiple sessions, causing misrecognition and invalid data entries that must be manually corrected.

“Accordingly, a need exists for improving the way in which ink data is organized so as to facilitate the recognition process and also to improve the association of ink data to particular data entry fields.

“The present invention, in large part, relates to the observation that client applications and handwriting recognition software in pen-based computer systems can make far more accurate ink-related decisions based on entire ink phrases, rather than individual ink strokes. Accordingly, the invention is directed to an ink manager that is designed to organize ink strokes into ink phrases and to provide these ink phrases to client applications. In the illustrative embodiment, the ink manager interfaces between a pen-based input device, one or more applications (pen-aware or not) and one or more handwriting recognition engines executing on the computer system. The ink manager acquires ink information, such as ink strokes, entered at the pen-based input device, and organizes that information into ink phrases.

“The ink manager includes an ink phrase termination engine (which may be partially executed in a pen driver component) that is configured to apply one or more ink phrase termination tests to the ink information. If the termination engine detects the occurrence of an ink phrase termination event, the ink manager performs the following steps in order: 1) finishes organizing the strokes into an ink phrase data structure, 2) optionally notifies the current client application program of the termination event by providing it with the ink phrase, thereby allowing the application to determine a suitable affiliation between the ink phrase and a specific input field, specify a reference context (e.g., a pointer) and request a particular recognition context, if desired, 3) notifies the appropriate handwriting recognition engine, so as to allow it to complete its work and provide the recognition results corresponding to the current ink phrase, and 4) sends the now labeled (i.e., recognized) ink phrase to the application, together with any reference context previously identified by the application (in step 2). To the extent the application returns a reference context and/or a recognition context, they may be appended to the ink phrase data structure.

“Significantly, by passing the as yet un-recognized ink phrase to the application immediately upon phrase termination (step 2 above), the ink manager allows the application to make specific input field and context determinations on a more suitable unit of data than previous systems–a phrase, rather than a stroke. Consequently, the system can associate the user’s ink data with the input fields intended by the user more consistently, even if one or more ink strokes (including the first ink stroke) is wholly or partially outside of the input field. The system can also recognize the ink data more accurately due to the use of the most appropriate recognition context, again as determined by the application based on the ink phrase.

“In the preferred embodiment, the ink phrase termination engine applies three ink phrase termination tests to the ink information generated at the pen-based device, and also allows the recognition engine to impose its own phrase termination test. First, the ink phrase termination engine initiates a time-out mechanism upon receiving each ink sample. If the time-out expires before the next ink sample is received, an ink phrase termination event occurs. The value of this time-out is preferably adjustable by the end user. Second, the ink phrase termination engine monitors proximity information acquired by the pen-based input device, and issues an ink phrase termination event when the pen is lifted out-of-proximity from the surface of the input device.

“That is, the input device includes sensors that detect whether the pen, even though not yet in contact with the surface of the device, is nonetheless near the surface or not (i.e., in or out-of-proximity). Optionally, the application associated with the current pen session may supply the coordinates of a pen input area to the ink manager and request the ink phrase termination engine to issue an ink phrase termination event whenever the ink samples move outside of this area. Finally, ink phrase termination events can be triggered by the handwriting recognition engine. In particular, the recognition engine preferably applies a word segmentation model to the ink information it is receiving on-the-fly. If the engine determines that a new ink sample represents the start of a new word (e.g., the new ink sample is on a new line or is spaced a significant distance horizontally from the prior ink sample), then the recognition engine may issue an ink phrase termination event.

“While the ink manager may allow alternative methods of data handling, including stroke-based and even point-based ink accumulation by the client application as well as input-area-based phrase termination, the organization of ink information into ink phrases frees pen-aware applications from the low-level ink collection and handling process, improves the correlation of ink information to specific areas on the pen-based input device, and improves the recognition process.”

— Dennis Sellers