Apple wants to resolve potential light/color composition on the rumored ‘Apple Glasses’
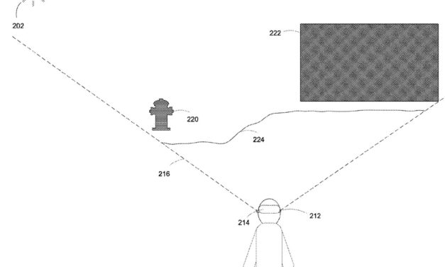
Apple has filed for a patent (number 20210157143) for “modifying display operating parameters baed...
Read MoreApple has filed for a patent (number 20210157143) for “modifying display operating parameters baed...
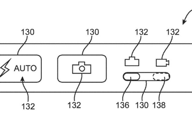
Read MoreApple has file for a patent (number 20210157453) for “electronic devices with sidewall displays”...
Read MoreRosie Perez (“The Flight Attendant, Birds of Prey”), Marina de Tavira (“Roma”), José María Yazpik...
Read MoreSince Steve and I can’t cover everything, occasionally we’ll direct your attention to articles...
Read MoreThe University of Nevada, Reno will launch the Digital Wolf Pack Initiative in fall 2021 to...
Read More