Apple has file for a patent (number 20210157453) for “electronic devices with sidewall displays” that adds credence to the rumors that Apple is working on a foldable iPhone — or at least a flexible one.

The patent involves devices with flexible displays (and this could also apply to iPads, even Mac laptops) that could be bent to form displays on multiple surfaces of the devices. These mini-screens could offer additional functionality.

In the patent data Apple notes that electronic devices such as portable computers and smartphones are often provided with rigid displays made from rigid display structures. For example, a liquid crystal display (LCD) may be formed from a stack of rigid display structures such as a thin-film transistor glass layer with display pixels for providing visual feedback to a user, a color filter glass layer for providing the display pixels with color, a touch screen panel for gathering touch input from a user, and a cover glass layer for protecting the display and internal components. 

Apple says that conventional devices may also have input-output components such as buttons, microphones, speakers, and other components that receive or transmit tactile input from a user mounted on edges of the device away from the display. Tactile input components are often formed from sliding or reciprocating button members and associated electrical components such as switches. 

Today flexible display technologies are available that allow displays to be flexed. For example, flexible displays may be formed using flexible organic light-emitting diode (OLED) display technology. Apple says that, for these reasons, it would be desirable to be able to use flexible display technology to provide improved electronic devices such as electronic devices with input-output components. 

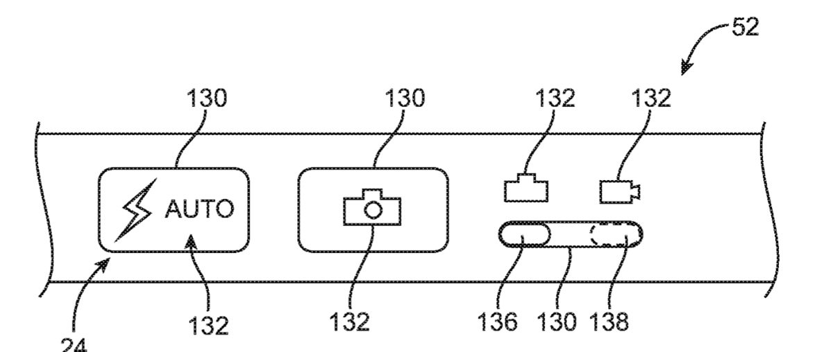
Here’s the summary of the patent data: “Electronic devices may be provided that contain flexible displays that are bent to form displays on multiple surfaces of the devices. Bent flexible displays may be bent to form front side displays and edge displays. Edge displays may be separated from front side displays or from other edge displays using patterned housing members, printed or painted masks, or by selectively activating and inactivating display pixels associated with the flexible display. 

“Edge displays may alternately function as virtual buttons, virtual switches, or informational displays that are supplemental to front side displays. Virtual buttons may include transparent button members, lenses, haptic feedback components, audio feedback components, or other components for providing feedback to a user when virtual buttons are activated.”

Apple was granted a similar patent (number 10,936,136) in March.




Article provided with permission from AppleWorld.Today