Apple has been granted a patent (number US 11962162 B2) for an “Accessory Device for Electronic Devices” that involves a case with a display and built-in charging — and which looks like an oversized luggage tag.

About the patent

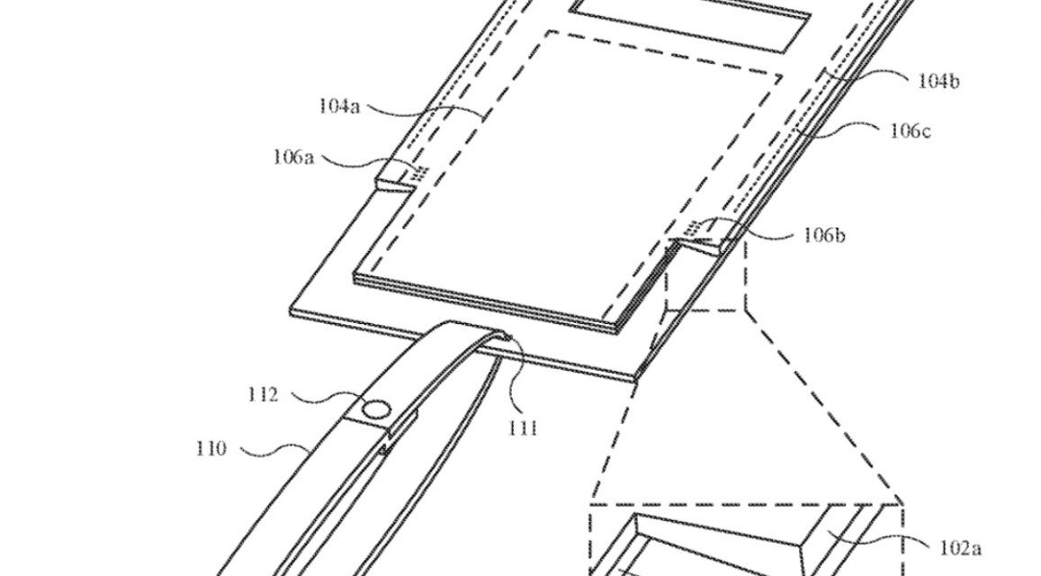
The patent involves accessory for carrying a portable electronic device (a Mac laptop or iPad),as well as other personal items (e.g., credit cards). When the accessory device carries the electronic device, the accessory device can communicate with the electronic device, allowing the electronic device to adjust display features in accordance with features of the accessory device. 

The accessory device can also promote wireless charging of the electronic device, while hiding/obscuring the structural features (e.g., magnets, structural layers) used to enhance wireless charging efficiency. The accessory would be offered in a variety of colors and materials.

Summary of the patent

Here’s Apple’s abstract of the patent: “An accessory device is disclosed. The accessory device may include multiple pockets, or sleeves, designed to carry items, such as an electronic device and a user’s personal items (e.g., credits cards, cash, etc.). The accessory device also includes a magnet embedded in a back section, with the magnet designed to align an inductive charging mechanism that can charge the electronic device’s battery when the electronic device is positioned within the accessory device. 

“To improve charging efficiency, the back section also includes a structural layer designed to keep the back section flat when the electronic device is positioned within the accessory device. The structural layer can hide/obscure the magnet and other structures. Also, the accessory device includes a wireless communication circuit that can communicate with a corresponding wireless communication circuit in the electronic device, and provide information (e.g., openings and dimensional information of the accessory device) to the electronic device.”




Article provided with permission from AppleWorld.Today