Apple has been granted a patent (number US 11819145 B2) for a “Modular Retail Display System” that hints at possible future changes in its retail stores.

About the patent

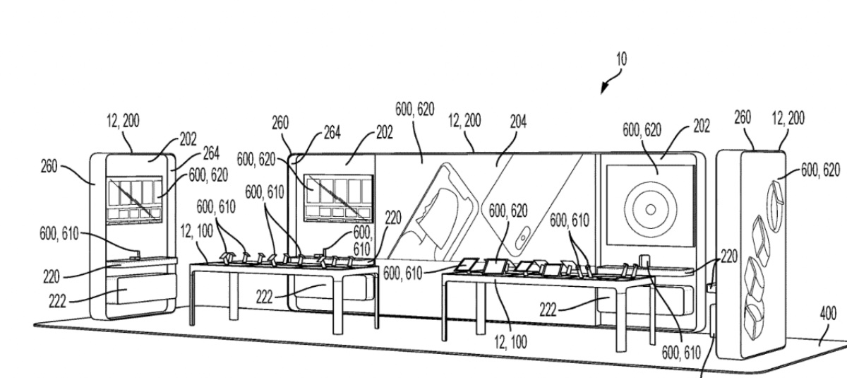
Obviously, retail stores and other retail environments may include furniture, shelving, tables, and other fixtures to display and showcase merchandise. However, Apple notes that these environments often utilize customized fixtures and arrangements that are fixed in configuration, and that are not easily adaptable to re-configuration, re-arrangement, or re-purposing, and that may not work in multiple types of environments. The tech giant is considering a more modular system that could be easily reconfigured.

Summary of the patent 

Here’s Apple’s abstract of the patent: “A retail display table includes a table top with openings, and a modular display mat disposed over each opening. Each of the modular display mats is movable between a closed position in which it covers its respective table-top opening, and an open position in which it is lifted above the table top so that a cavity underneath the modular display mat is accessible. 

“Also, each modular display mat has holes to accommodate a configuration of displayed items, and is removable and replaceable with another modular display mat having a different configuration of holes to accommodate a different configuration of displayed items. A retail display system may include such a retail display table, along with other modular retail fixtures such as display walls with modular display wall inserts and retail counter units with modular display mats interchangeable with those of the retail display table.”




Article provided with permission from AppleWorld.Today