Apple has been granted a patent (number US 11640275 B2) for “devices with enhanced audio.”
About the patent
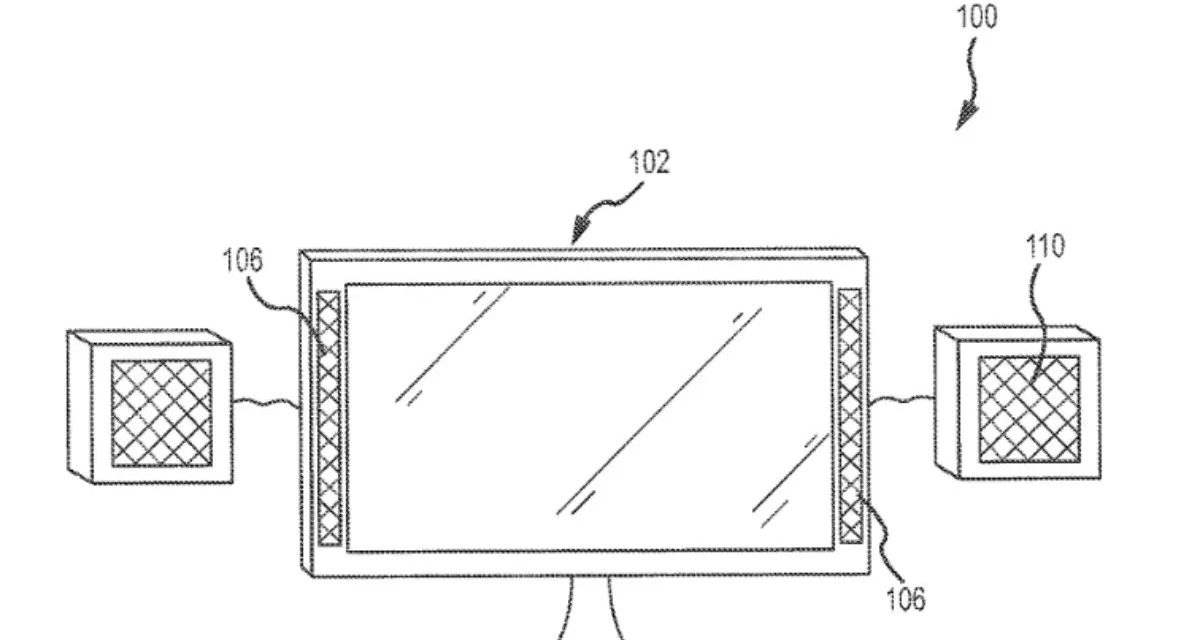
In the patent Apple notes that electronic devices, such as computers, mobile phones, audio players, laptops, tablet computers, televisions (hereinafter an “electronic device”) typically may have an integrated audio output device (e.g., speakers) or may be able to communicate with an audio output device. Additionally, many electronic devices may also include a visual or video output device or communicate with a video display device.
Many audio/visual output devices may be able to have an improved audio or video output, if the audio output is able to be adjusted to the environment, surroundings, circumstances, program, and/or environment. However, Apple notes that many audio and video output devices may require a user input or interaction in order to change a particular output or may not have variable output settings.
In these instances the audio and/or video output may not be performing or outputting the best quality sound or images for the particular environment, programs, circumstance, or the like. Apple wants its various devices to be equipped with sensors and systems for outputting and enhancing audio.
Summary of the patent
Here’s Apple’s abstract of the patent: “ system for enhancing audio including a plurality of sensors, an output device, and a processor in communication with the plurality of sensors and the output device. The processor is configured to process data captured by the plurality of sensors, and based on that, modify an output of the output device. The processor also is configured to determine whether there are a plurality of users associated with a video conferencing session, determine which user of the plurality of users is speaking, and enhance the audio or video output of the speaking user on the output device.”
Article provided with permission from AppleWorld.Today