Future iPhones and iPads could pack an “accessory strobe interface” based on a newly granted Apple patent (number 11,172,553).

About the patent

An internal strobe or flash positioned near the camera on a mobile device such as an iPhone or iPad is sometimes provided. These devices may also include programming that determines whether the strobe is to be used in taking a picture (e.g., based on ambient light conditions) and/or the duration and intensity of strobe illumination while the picture is taken. A metering phase (or state) on the device is typically used to determine whether the strobe is to be used and, if used, the duration and intensity of the illumination.

Apple says that internal strobes may be provided on mobile multipurpose devices to provide convenience for the user and to maintain a small form factor for the device. However, the tech giant says that external strobe devices (e.g., external strobe accessories) have generally not been developed for mobile multipurpose devices as cameras on mobile devices. Such devices aret frequently used for photography where there is little need or desire for additional illumination (e.g., amateur photography purposes). 

Apple says that, as camera technology in mobile multipurpose devices advances, there is increasing potential that such device cameras will be used for more professional-type photography. The tech giant adds that, however, there are challenges in providing external strobe accessories for mobile multipurpose devices that utilize existing connectors on the mobile multipurpose devices to provide low-latency timing synchronization between the internal strobe and the external strobe accessory. Apple thinks it can meet such challenges.

Summary of the patent 

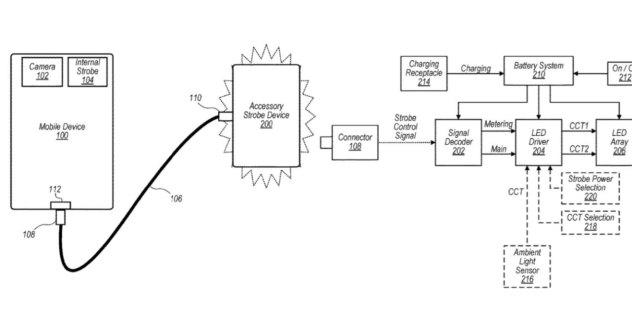
Here’s Apple’s abstract of the patent: “An accessory strobe device for a mobile device may operate to provide illumination at the same time as an internal built-in strobe (flash) of the mobile device. The accessory strobe device may receive a single, unidirectional signal from the mobile device that provides signals related to the timing of the internal strobe. The accessory strobe device may process the received signal to control its illumination using the timing and relative intensity levels of the internal strobe during metering and main (normal) flash operations associated with a camera on the mobile device. 

“With the accessory strobe device operating using timing and relative intensity levels in a predetermined relationship with the timing and relative intensity levels of the internal strobe, the accessory strobe device may be used to complement the internal strobe during the metering and main (normal) flash operations for the camera.”




Article provided with permission from AppleWorld.Today