Apple has filed for a patent (number 20210149445) for an “electronic device with sensing strip.” It would allow Mac laptops to detect the presence of a user’s fingers without direct contact with your fingers. It would also support air gestures.

In the patent filing, the tech giant notes that electronic devices such as laptop computers and other electronic devices include input devices such as keyboards, touch pads, and touch sensitive displays. However, Apple adds that can be challenging to operate such devices using certain input devices. For example, some input devices may operate best when a user is looking directly at the device. This may cause the user to look away from content that is currently being presented on a display and can disrupt a user’s work flow. 

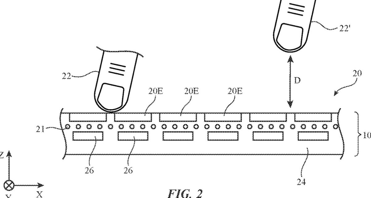
Apple’s idea: to enhance the ability of a user to operate a laptop computer or other electronic device, an electronic device may be provided with a sensing strip. The sensing strip may detect the presence of external objects such as a user’s fingers. In some configurations, the sensing strip may detect touch events associated with direct contact of a user’s fingers or other external objects with the sensing strip. The sensing strip may also detect the presence of a user’s fingers or other external objects without direct contact between the objects and the sensing strip. For example, air gestures above the sensing strip may be used to control the electronic device. 

Here’s the summary of the patent filing: “An electronic device may have an elongated sensing strip. Control circuitry may use the sensing strip to gather air gesture input from the fingers or other body part of a user. The electronic device may have a housing. The housing may have portions such as upper and lower portions that rotate relative to each other about an axis. A hinge may be used to couple the upper and lower portions together. 

“The sensing strip may extend parallel to the axis and may be located on the lower portion between keys on the lower portion and the axis or on the upper portion between the edge of a display in the upper portion and the axis. The sensing strip may have a one-dimensional array of sensor elements such as capacitive sensor elements, optical sensor elements, ultrasonic sensor elements, or radio-frequency sensor elements.”




Article provided with permission from AppleWorld.Today