An Apple patent (number 20120201374) for systems and methods for implementing block cipher algorithms on attacker-controlled systems has appeared at the U.S. Patent & Trademark Office. In other words, Apple is working to it harder to hack or attack its various devices — or reverse engineer them.

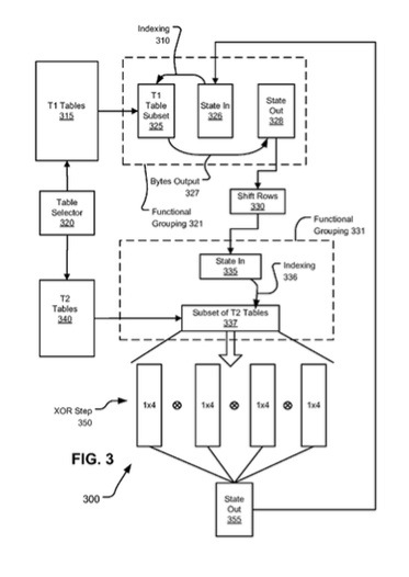
The patent is for systems and methods for an implementation of block cipher algorithms (e.g., AES) to use lookup tables to obscure key information, increasing difficulty of reverse engineering efforts. The inventors are Mathieu Ciet, Augustin J. Farrugia and Filip Toma Paun.

Also appearing today at the U.S Patent & Trademark Office are:

° Patent number 20120204039 for a method and apparatus for obfuscating computer software code, to protect against reverse-engineering of the code. Farrugia,, Ciet and Pierre Betouin are the inventors.

° Patent number 20120204038 for performing Boolean logic operations using arithmetic operations by code obfuscation to protect against reverse engineering of the code. The inventors are Farrugia, Benoit Chevallier-Mames, Ciet and Thomas Icart.