Apple releases first public betas of macOS 11.5, iOS 14.7, iPadOS 14
Apple has released the first public betas of macOS Big Sur 11.5, iOS 14.7, and iPadOS 14.7....
Read MoreApple has released the first public betas of macOS Big Sur 11.5, iOS 14.7, and iPadOS 14.7....
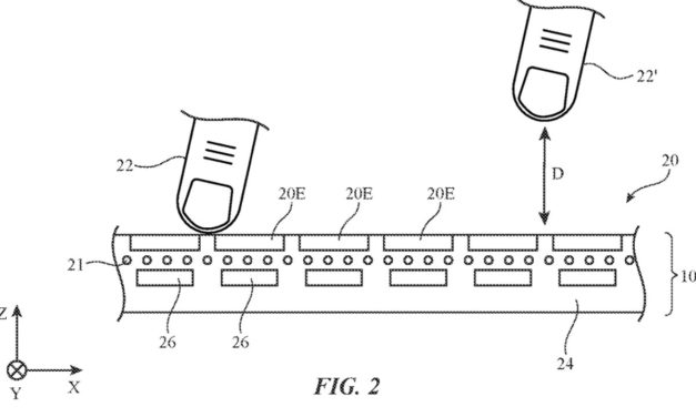
Read MoreApple has filed for a patent (number 20210149445) for an “electronic device with sensing strip.”...
Read MoreReelgood, a movie and TV streaming search engine with over two million monthly users in the U.S....
Read MoreNew research from Klick Applied Sciences found that people using interactive voice technology for...
Read MoreApple saw “brisk” iPhone sales in China in April, according to Digitimes. The company says the...
Read More