Apple includes a cleaning cloth with the Vision Pro, but the tech giant is considering a cleaning kit for all its devices, as evidenced by a new patent filing (number S 20240074572 A1). 

About the patent filing

In the patent filing, Apple notes that devices can include watches, audio devices, such as in-ear devices, on-ear headphones, over-the-ear headphones, eyewear, smart phones, augmented-reality devices, virtual-reality devices, and other devices can accumulate debris on their surfaces. Surfaces having a rough or non-smooth texture can accumulate debris at a faster pace. 

For example, wearable devices often have a perforated surface, such as a surface with a number of holes or micro-perforations. A surface can be formed of or include a mesh, where the mesh can be formed of interlocking strips or wires of wires or plastic.

Wearable devices can include a perforated or mesh surface for various reasons. For example, such a surface can be provided for ventilation to allow for the cooling of components below or behind the surface. Such a surface can be provided to allow audio signals to be provided or received, that is, a speaker or a microphone can be located behind a perforated or mesh surface. Pressure stabilization or equalization can be provided by a perforated or mesh surface. For example, a barometer housed in a device can be near a perforated or mesh surface.

However, debris can gather in the perforations or mesh openings in such a surface. The debris can be dust and dirt from the environment, it can be organic matter from a user of the wearable device, or it can be other types of debris.

This debris is typically cleaned using less than ideal materials and methods. For example, sharp instruments are often used to remove organic matter from these surfaces. These can extend through a mesh or other surface and can reach and damage components below. Also, very high-tack substances are often used to remove debris. 

However, Apple says this material can pull a mesh surface away from other portions of the wearable device and cause damage. What’s  ore, these techniques and materials are often not particularly effective at cleaning. Apple says that what’s needed are kits, methods, and apparatus for cleaning wearable devices that are simple to use, are less likely to cause damage, and are effective.

Summary of the patent filing

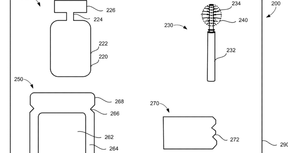
Here’s Apple’s abstract of the patent filing: “Cleaning kits for wearable devices that are simple to use, are less likely to damage wearable devices, and are effective at cleaning wearable devices. An example can include a cleaning cloth, a softening solution, a brush, and a soft gel. The cleaning cloth can be a lint-free cloth. The softening solution can be a protein emulsifier. The softening solution can be provided in an ampule or other sealed container.

“The brush can be formed of an elastomer, such as silicone, to reduce the chance of damage to a wearable device. The brush can have a snowball pattern to further reduce the chance of damage. The soft gel can be a hydrogel solution. The soft gel can be biodegradable and can be provided in a pouch having a tear notch.”




Article provided with permission from AppleWorld.Today