One of the complaints about the Apple Vision Pro is that it’s very isolating. Apple is working on the issue, as evidenced by a new patent filing (number US 20240064280 A1) for “Optical Assemblies for Shared Experience.”

About the patent filing

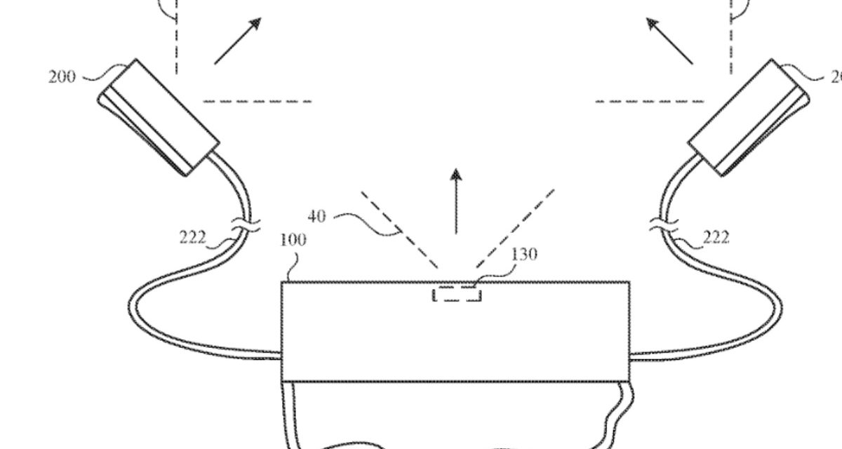
The patent filing relates generally to head-mountable devices, and, more particularly, to head-mountable devices (HMD) with optical assemblies that facilitate a shared experience. In the patent Apple notes that an HMD can be worn by a user to display visual information within the field of view of the user. 

The HMD can be used as a virtual reality (VR) system, an augmented reality (AR) system, and/or a mixed reality (MR) system. A user may observe outputs provided by the head-mountable device, such as visual information provided on a display. The display can optionally allow a user to observe an environment outside of the head-mountable device. Other outputs provided by the head-mountable device can include speaker output and/or haptic feedback. 

A user may further interact with the head-mountable device by providing inputs for processing by one or more components of the head-mountable device. For example, the user can provide tactile inputs, voice commands, and other inputs while the device is mounted to the user’s head. And Apple wants Vision Pro users to be able to share their experiences. 

Summary of the patent filing

Here’s Apple’s abstract of the patent filing: “A head-mountable device can operate in concert with one or more optical assemblies thereof to provide multiple users with shared experiences and content enjoyment. Such operations can be facilitated by a connection between the head-mountable device and one or both of its optical assemblies to allow different users to receive content. 

“Such a connection can be made possible by a communication link that directly and/or physically connects the head-mountable device and one or both of its optical assemblies when the one or both of the optical assemblies is removed from the head-mountable device for operation by a separate user. The ability to provide multiple outputs on separate components allows separate users to participate in a shared experience.”




Article provided with permission from AppleWorld.Today