Apple has filed for a patent (number US 20230168711 A1) for an “electronic device including a camera disposed behind a display. It involves moving Face ID components under the display of an iPhone and iPad.

About the patent filing

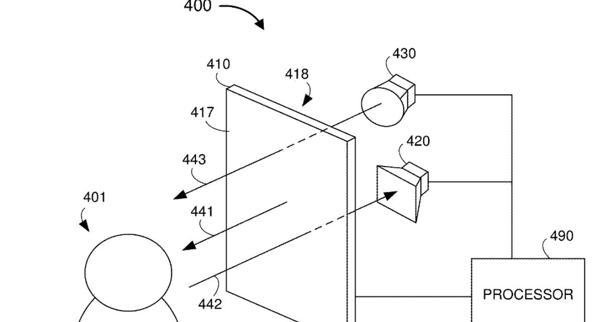
The invention generally relates to electronic devices including a camera and a display, and, in particular, to electronic devices including a front-facing camera disposed behind a front-facing display.

In the patent filing, Apple notes that some electronic devices include a display which displays an image to a user and a camera which captures image of scene in which the user is present. However, in some such electronic devices, the camera reduces the potential size of the display, as the camera occupies a portion of the front surface of the electronic device preventing the portion from being occupied by the display. Apple is at least considering plans to change this.

Display analyst Ross Young doesn’t think we’ll see an iPhone or iPad with under-display Face ID until at least 2025. Such tech has been rumored for some time.

An April 20 2022 report by The Elec claimed that Samsung Display is developing a new under-panel camera technology that Apple plans to use to hide Face ID under the display on next year’s “iPhone 15 Pro” models.

And in his his August 23, 2021  Power On newsletter, Bloomberg’s Mark Gurman said that Apple considered adding Touch ID to the iPhone 13, but those plans were delayed. Still, he said the ultimate goal is to add this feature to smartphones along with under-the-display Face ID.

Summary of the patent filing

Fingerprint reader in Phone Screens…

Please enable JavaScript

Here’s Apple’s abstract of the patent filing: “In one implementation, an apparatus includes a display having a front surface and a back surface. The display includes a plurality of pixel regions that emit light from the front surface to display a displayed image and a plurality of apertures that transmit light from the front surface to the back surface. The apparatus includes a camera disposed on a side of the back surface of the display. 

“The camera is configured to capture a captured image. The apparatus includes a processor coupled to the display and the camera. The processor is configured to receive the captured image and apply a first digital filter to a first portion of the captured image and a second digital filter, different than the first digital filter, to a second portion of the captured image to reduce image distortion caused by the display.”




Article provided with permission from AppleWorld.Today