Apple has been granted a patent (number 11,361,735) for a “head-mountable device with output for distinguishing virtual and physical objects.” It involves the rumored “Apple Glasses,” a mixed-reality device.

About the patent

In the patent Apple notes that a head-mountable device (HMD) can be worn by a user to display visual information within the field of view of the user. It can be used as a virtual reality (VR) system, an augmented reality (AR) system, and/or a mixed reality (MR) system. A user may observe outputs provided by the head-mountable device, such as visual information provided on a display. 

The display can optionally allow a user to observe an environment outside of the HMD. Other outputs provided by the device can include audio output and/or haptic feedback. 

A user may further interact with the head-mountable device by providing inputs for processing by one or more components of the head-mountable device. For example, the user can provide tactile inputs, voice commands, and other inputs while the device is mounted to the user’s head. 

Summary of the patent

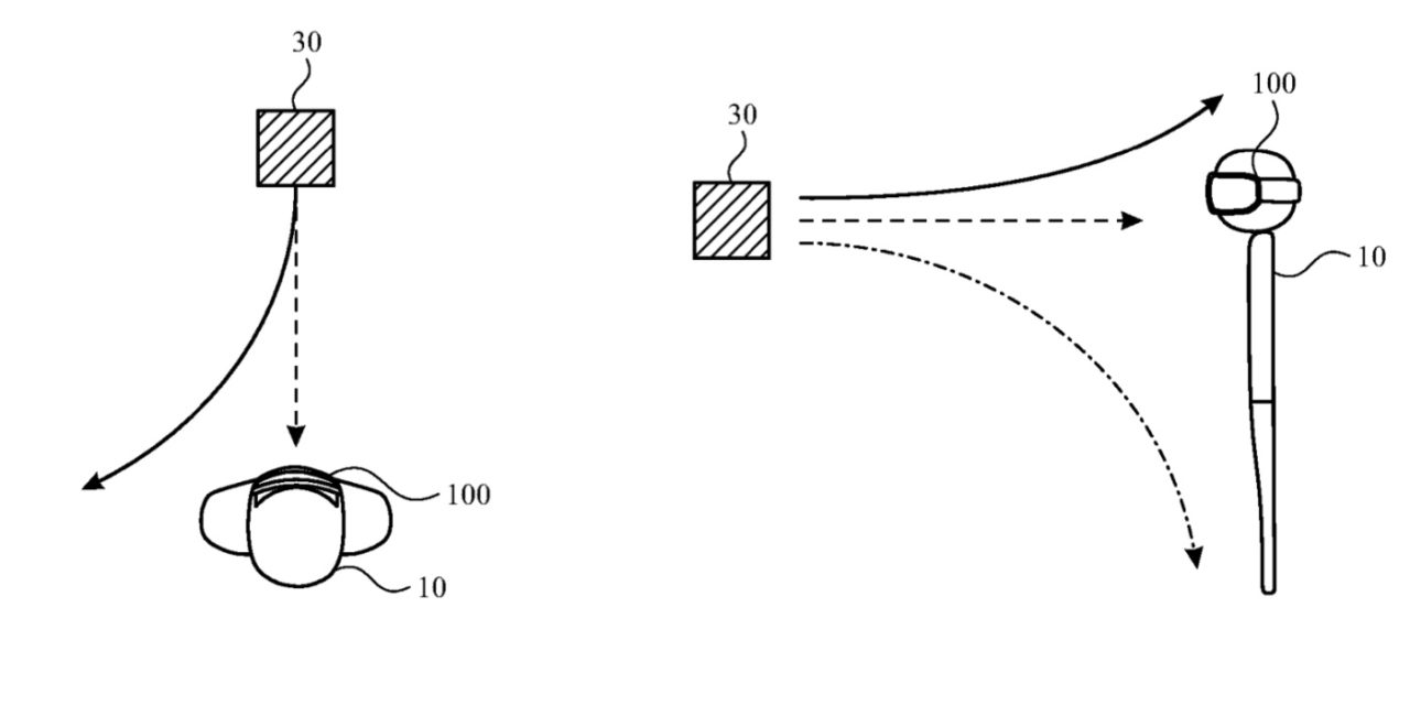
Here’s Apple’s abstract of the patent: “A head-mountable device can help a user distinguish between the physical objects and the virtual objects when desired. Indications provided by the head-mountable device can be visually applied to physical objects and/or virtual objects within a view provided by the head-mountable device. The indications can be provided to notify the user of objects outside the view provided by the head-mountable device. The indications can be visual, auditory, and/or haptic in nature. 

“The indications can be provided based on a user’s detected action, intention, and/or attention so that the indication is more targeted to a user’s needs. The indications can be provided under particular conditions, so that the user can more easily maintain an immersive experience when the indications are not desired.”

About Apple Glasses

When it comes to Apple Glasses, such a device will almost certainly arrive in mid-to-late 2023. It will be a head-mounted display. Or may have a design like “normal” glasses. Or it may be eventually be available in both. The Apple Glasses may or may not have to be tethered to an iPhone to work. Other rumors say that Apple Glasses could have a custom-build Apple chip and a dedicated operating system dubbed “rOS” for “reality operating system.”




Article provided with permission from AppleWorld.Today