Future Apple Watches may have batteries that move in order to provide better haptic (touch) feedback. Apple has been granted a patent (number 11,334,164) for a “portable electronic device having a haptic device with a moving battery element.”

About the patent

Traditionally, electronic devices include one or more buttons or electromechanical switches for providing input. However, Apple notes that as devices become smaller, there is less space to integrate traditional button-type input devices. Some devices include a touch sensor or touch screen for receiving input. However, Apple says that touch sensors generally lack the mechanical feedback to alert the user that an input has been registered. 

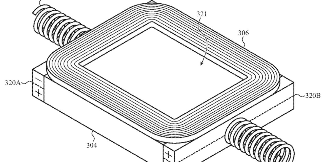
The tech giant wants its smartwatch to better provide tactile feedback to a user during operation of the device. This would be accomplished with an Apple Watch with a “movable” battery element in order to produce a tactilely perceptible pulse or vibration along an exterior surface of the device. 

Summary of the patent

Here’s Apple’s abstract of the patent: “An electronic device includes an enclosure having a transparent cover defining a touch-sensitive surface, a display positioned within the enclosure and below the transparent cover, and a haptic device configured to produce a haptic output along the touch-sensitive surface. 

“The haptic device may include a battery element electrically coupled to the display, a magnetic element, and a coil assembly fixed with respect to the enclosure and configured to induce an oscillatory movement of the battery element parallel to the display to produce the haptic output. In other examples, the coil assembly may be coupled to the battery element and the first and second magnetic elements may be fixed with respect to the enclosure.”




Article provided with permission from AppleWorld.Today