I’ve said before that I’d love to see Apple make its own gamepad for use with Apple Arcade games (and others) on the Mac, iPad, and Apple TV. A new patent filing (number 20220096923) for a “magnetically attachable gaming accessory” shows that the tech giant is at least considering this.

About the patent filing

Wouldn’t it be nice if all Apple devices came with built-in game control support and developers supported it with games that “just worked” with controllers? And if the tech giant made its own gaming peripherals?

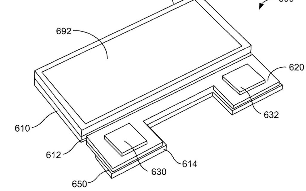
Shown is an illustration of a magnetically attachable gaming accessory.

In the patent filing, Apple says that what’s needed are device accessories “that can improve a specific functionality of an electronic device, can readily attach to an electronic device, can be easy to use, and can have a small and efficient form factor.” And it adds that “a gaming accessory that can improve the game playing functionality of an electronic device, such as a phone, tablet, wearable computing device, or other computing device.”

Summary of the patent filing

Here’s Apple’s abstract of the patent filing with some technical details: Accessories that can improve a specific functionality of an electronic device, can readily attach to an electronic device, can be easy to use, and can have a small and efficient form factor. One example can provide a gaming accessory that can improve the game playing functionality of an electronic device, such as a phone, tablet, or other computing device. This gaming accessory can provide a physical interface for controlling game activities on the electronic device such that a screen of the electronic device remains at least largely unobstructed during game play.




Article provided with permission from AppleWorld.Today