I’ve said before that I’d love to see Apple make its own gamepad for use with Apple Arcade games (and others) on the Mac, iPad, and Apple TV. A new patent filing (number 20220096923) for a “magnetically attachable gaming accessory” shows that the tech giant is at least considering this.
About the patent filing
Wouldn’t it be nice if all Apple devices came with built-in game control support and developers supported it with games that “just worked” with controllers? And if the tech giant made its own gaming peripherals?
In the patent filing, Apple says that what’s needed are device accessories “that can improve a specific functionality of an electronic device, can readily attach to an electronic device, can be easy to use, and can have a small and efficient form factor.” And it adds that “a gaming accessory that can improve the game playing functionality of an electronic device, such as a phone, tablet, wearable computing device, or other computing device.”
Summary of the patent filing
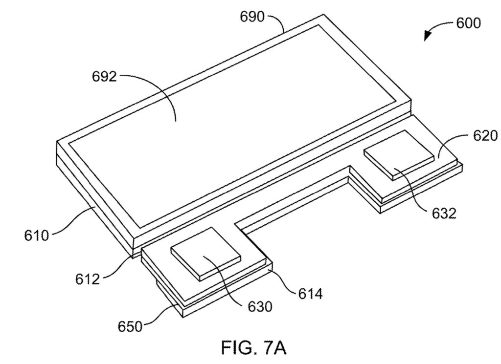
Here’s Apple’s abstract of the patent filing with some technical details: Accessories that can improve a specific functionality of an electronic device, can readily attach to an electronic device, can be easy to use, and can have a small and efficient form factor. One example can provide a gaming accessory that can improve the game playing functionality of an electronic device, such as a phone, tablet, or other computing device. This gaming accessory can provide a physical interface for controlling game activities on the electronic device such that a screen of the electronic device remains at least largely unobstructed during game play.
Article provided with permission from AppleWorld.Today

