Apple may be considering AirPods, AirPods Pros, and HomePod devices with curved screens — as well as an Apple Pencil with a built-in display.The company has been granted a patent (number 11,231,814) for “electronic devices with curved display surfaces.”

About the patent

In the patent Apple says the shape and other characteristics of many displays can pose challenges during integration of displays and other components into an electronic device, particularly in situations where space is limited. 

A convex display rather than a flat one could increase the internal volume of a device, while preserving a sleek look that’s aesthetically pleasing. Integrated into the curved, and flexible, display would be buttons, microphones, speakers, piezoelectric actuators or (for receiving electrical input from a user or tactile feedback to users), other actuators such as vibrators, pressure sensors, and other components.

Apple has previously filed for patent relating to such features for an iPhone with a curved screen. It’s possible that various devices from the company could incorporate such a feature.

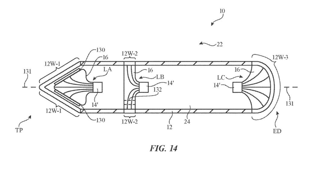
FIG. 14 is a cross-sectional side view of an illustrative device such as a computer stylus with “image transport layers.”

Summary of the patent

Here’s Apple’ abstract of the patent for those who like the technical details: “An electronic device may have light-emitting devices. A light-emitting device may include light-emitting diodes, a display, or other components that emit visual output. One or more image transport layers may be included in the electronic device. An image transport layer may have an input surface that receives an image and an output surface to which the image transport layer transports the image for viewing by a user. 

“The image transport layers may have areas with compound curvature and other shapes. Deformed image transport layer structures such as deformed fibers in a coherent fiber bundle may be configured to hide gaps in displays and other structures. Displays may include light detectors that serve as a two-dimensional touch sensor. The touch sensor may detect touch input on an output surface of an image transport layer. Image transport layer material may be incorporated into buttons, elongated housings, wearable devices, and other equipment.”




Article provided with permission from AppleWorld.Today