Remember Marty McFly’s self-tying Nikes from “Back to the Future”? So, apparently, does Apple, and the tech giant may be interesting in making such kicks. The company has been granted a patent (number 11,219,276) for “footwear having motorized adjustment system and elastic upper.”

About the patent

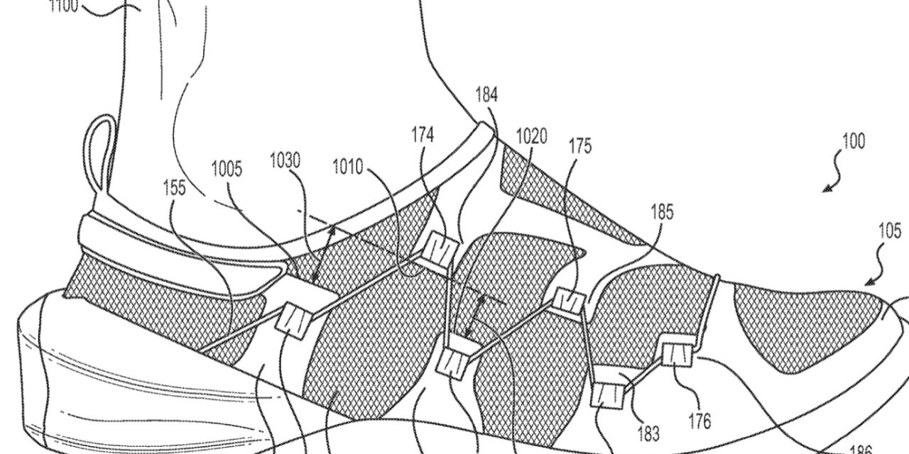
Articles of footwear generally include two primary elements: an upper and a sole structure. The upper may incorporate a lacing system to adjust the fit of the footwear.

Apple’s idea is for a lacing system with a motorized tensioning system. Components of a motorized tensioning system may include, for example, a motorized tightening device, a control unit, and a battery. Each of these components may be incorporated into an article of footwear in various places. 

In some cases, one or more of these components may be concealed, for example within the sole structure. Relatively inelastic materials may be utilized to provide support, stability, responsiveness, durability, and other performance characteristics. In addition, elastic materials may be utilized in the upper to provide fit and comfort. 

Summary of the patent 

Here’s Apple’s abstract of the patent: “An article of footwear may include an upper configured to receive a foot of a wearer, the upper including one or more elastic portions and one or more substantially inelastic portions. The footwear may further include a plurality of lace receiving members fixedly attached to an outer surface of the upper on the inelastic portions of the upper. Also, the footwear may include a sole structure fixedly attached to the upper. 

“In addition, the footwear may include a motorized tensioning system including a motorized tightening device and a tensile member extending through the plurality of lace receiving members, the tightening device being configured to apply tension in the tensile member to adjust the size of an internal void defined by the article of footwear by drawing two or more of the plurality of lace receiving members closer to one another.”




Article provided with permission from AppleWorld.Today