Apple has been granted a patent (number 11,189059) for “object tracking for head-mounted devices.” It involves the rumored “Apple Glasses,” an augmented reality/virtual reality head-mounted display.

About the patent

In the patent, Apple notes that an HMD can be worn by a user to display visual information within the field of view of the user. The head-mounted device can be used as a virtual reality (VR) system, an augmented reality (AR) system, and/or a mixed reality (MR) system. A user may observe outputs provided by the head-mounted device, such as visual information provided on a display. 

The display can optionally allow a user to observe an environment outside of the head-mounted device. Other outputs provided by the head-mounted device can include audio output and/or haptic feedback. A user may further interact with the head-mounted device by providing inputs for processing by one or more components of the head-mounted device. Apple wants the user to be able to provide tactile inputs, voice commands, and other inputs while its HMD is mounted to the user’s head. 

Summary of the patent

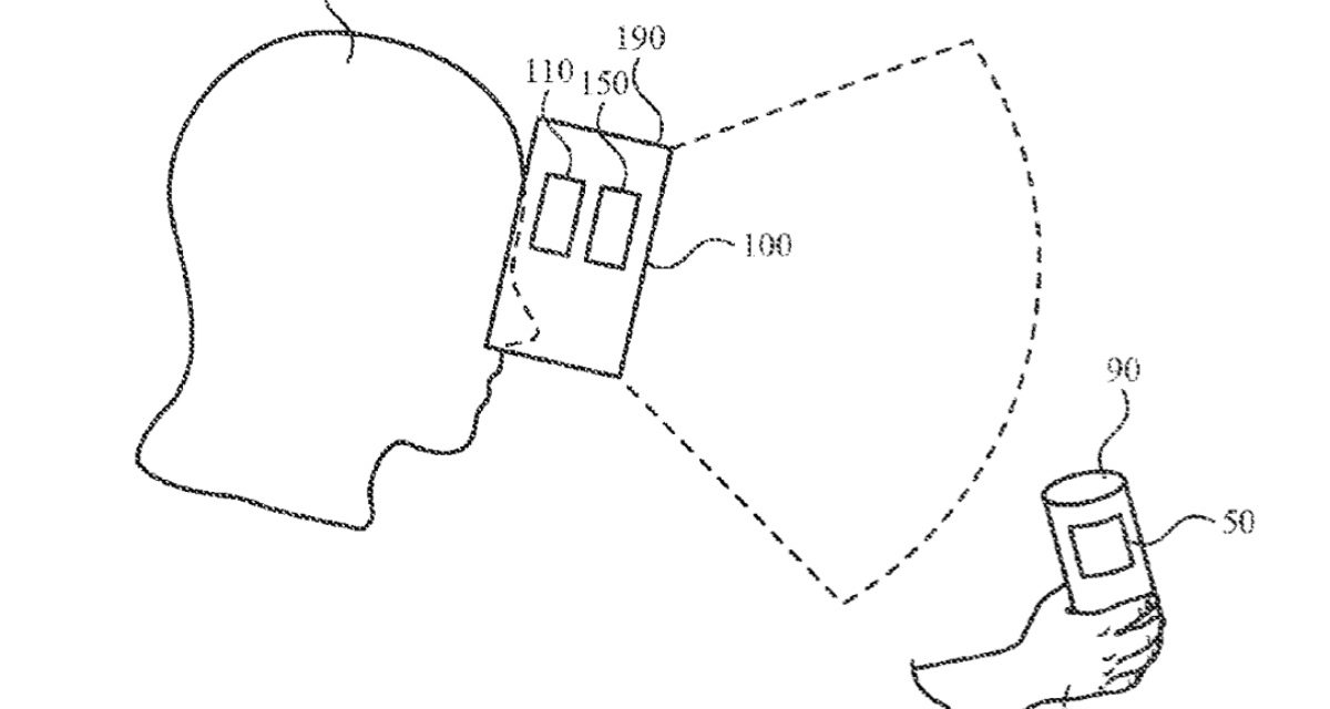
Here’s Apple’’s abstract of the patent: “A head-mounted device can be operated with another device and/or object for which information is gathered to facilitate visual display of a representation thereof. An object can be provided with indicators that allow a head-mounted device to determine both an identity and a characteristic (e.g., position, orientation, distance, etc.) of the object. Additionally or alternatively, the head-mounted device can determine both an identity and a characteristic (e.g., position, orientation, distance, etc.) of an electronic device attached to an object for producing a virtual representation of the object.

“Additionally or alternatively, the head-mounted device can receive data from an electronic device attached to an object for producing a virtual representation of the object. The virtual representation of the object can resemble the physical object, even where the object itself is not independently analyzed.A head-mounted device can be operated with another device and/or object for which information is gathered to facilitate visual display of a representation thereof. 

“An object can be provided with indicators that allow a head-mounted device to determine both an identity and a characteristic (e.g., position, orientation, distance, etc.) of the object. Additionally or alternatively, the head-mounted device can determine both an identity and a characteristic (e.g., position, orientation, distance, etc.) of an electronic device attached to an object for producing a virtual representation of the object. Additionally or alternatively, the head-mounted device can receive data from an electronic device attached to an object for producing a virtual representation of the object. The virtual representation of the object can resemble the physical object, even where the object itself is not independently analyzed.”

About Apple Glasses

When it comes to Apple Glasses, such a device will arrive in 2022 or 2023, depending on which rumor you believe. It will be a head-mounted display. Or may have a design like “normal” glasses. Or it may be eventually be available in both. The Apple Glasses may or may not have to be tethered to an iPhone to work. Other rumors say that Apple Glasses could have a custom-build Apple chip and a dedicated operating system dubbed “rOS” for “reality operating system.”




Article provided with permission from AppleWorld.Today