Apple has been granted a patent (number 11,126,004) for a “head-mounted electronic display device with lens position sensing.” It involves the rumored “Apple Glasses,” an augmented reality/virtual reality head-mounted display (HMD).

About the patent

The goal is to make an HMD that’s comfortable. As Apple notes in the patent, electronic devices such as HMDs can be configured to be worn by users. HMDs may include optical systems with lenses. The lenses allow displays in the devices to present visual content to users. 

Of course, users have faces of different shapes and sizes. Apple says this can pose challenges when a head-mounted device is to be used by multiple users. The tech giant notes that, if care isn’t taken, a HMD may not fit well for certain users. Apple doesn’t want this to happen with Apple Glasses.

Summary of the patent

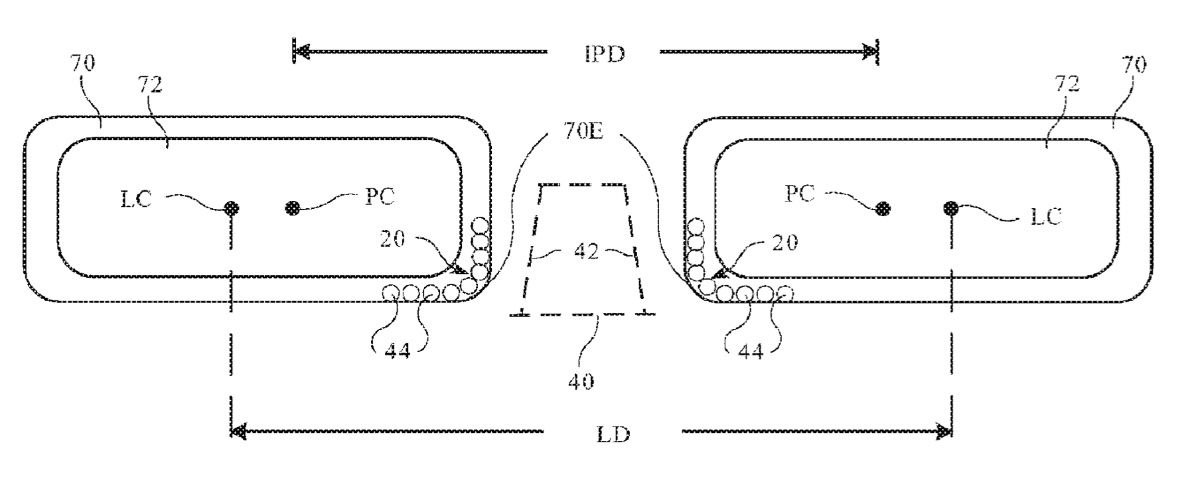
Here’s Apple’s abstract of the patent: “A head-mounted device may have a display with first and second pixel arrays that display content for a user. A head-mounted support structure in the device supports the pixel arrays on the head of the user. A left positioner may be used to position a left lens module that includes a left lens and the first pixel array. A right positioner may be used to position a right lens module that includes a right lens and the second pixel array. 

“Sensing circuitry such as proximity sensing circuitry may be used to detect relative positions between the left and right lens modules and facing surfaces of a user’s nose while the user is wearing the head-mounted support structure. Control circuitry may adjust the positions of the left and right lens modules using interpupillary distance information for the user and using information from the sensing circuitry.”

About Apple Glasses

When it comes to Apple Glasses, such a device will arrive in 2022 or 2023, depending on which rumor you believe. It will be a head-mounted display. Or may have a design like “normal” glasses. Or it may be eventually be available in both. The Apple Glasses may or may not have to be tethered to an iPhone to work. Other rumors say that Apple Glasses could have a cU.S.tom-build Apple chip and a dedicated operating system dubbed “rOS” for “reality operating system.”




Article provided with permission from AppleWorld.Today