Future Apple Pencils may be able to detect and reproduce colors. Apple has been granted a patent (number 11,126,281) for a “computer system with color sampling stylus.” 

About the patent

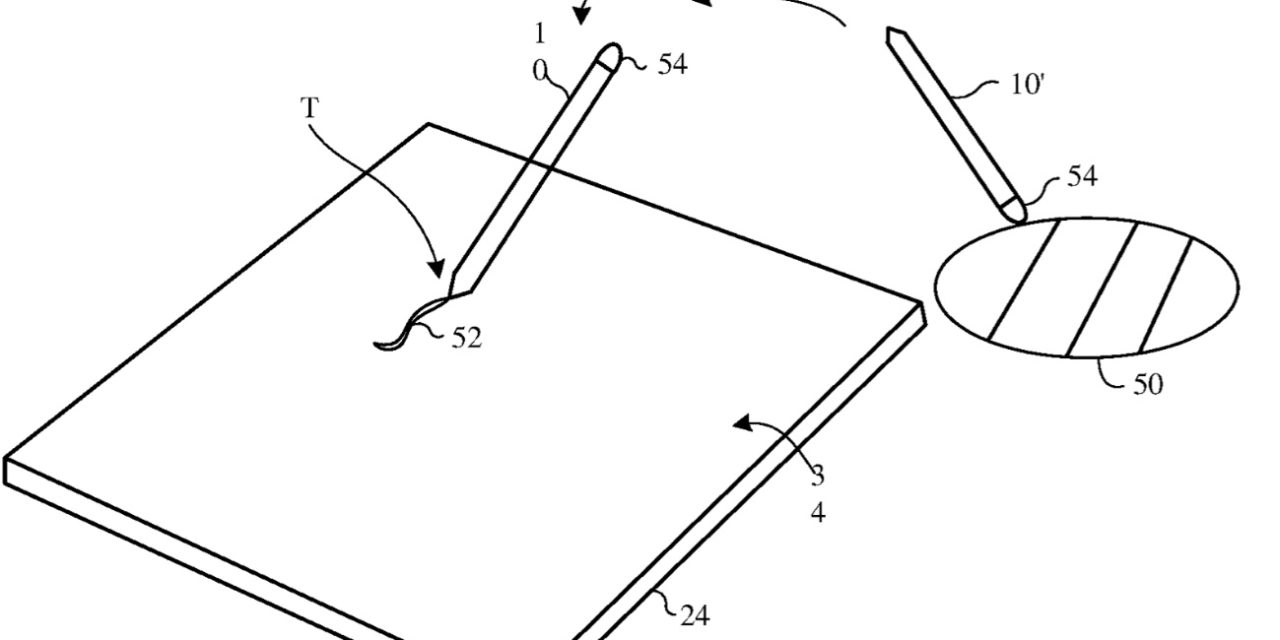
The idea is to equip the Pencil with a color sensor packed with photodetectors, each of which measures light for a different respective color channel. The color sensor may also have light-emitting devices that illuminate and scan an external object to determine the color of the external object. The color could be used in drawing or painting with the Apple Pencil.Interestingly, the patent filing also mentions use of the Pencil with laptops, desktops, and smartphones, as well as augmented reality, head-mounted displays such as the rumored “Apple Glasses.

Summary of the patent

Here’s Apple’s summary of the patent: “A device such as a computer stylus may have a color sensor. The color sensor may have a plurality of photodetectors each of which measures light for a different respective color channel. The color sensor may also have one or more light-emitting devices. Control circuitry may use the light-emitting devices to illuminate an external object while using the photodetectors to measure reflected light to determine the color of the external object. 

“The electronic device may have a housing with an elongated shaft. The shaft may have a tip and an opposing end. The tip may be configured to emit electromagnetic signals that are detected by a touch sensor in a touch sensitive display. The color sensor may be located at the end opposite the tip, may be located at the tip, or may be optically coupled to the tip using a light guide.”

The graphic is a perspective view of an illustrative system with electronic devices.




Article provided with permission from AppleWorld.Today