Apple has been granted a patent (number 11,119,321) for an “electronic device with a display attached to a lease element.” It involves the rumored “Apple Glasses,” an augmented reality/virtual reality head-mounted display (HMD).

About the patent

Electronic devices are sometimes configured to be worn by users. For example, HMDs are provided with head-mounted structures that allow the devices to be worn on users’ heads. The HMD may include optical systems with lenses. The lenses allow displays in the devices to present visual content to users. 

However, Apple says it may be difficult to precisely align lenses with displays. If care isn’t taken, a lens may be poorly aligned with a corresponding display and the visual content may not be displayed properly. Apple doesn’t want this to be an issue with its Apple Glasses.

Here’s the summary of the patent

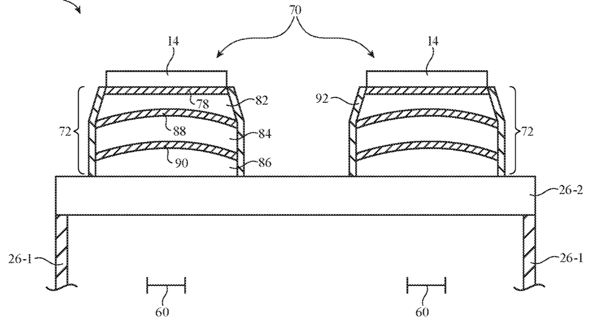
Here’s Apple’s abstract of the patent: “A head-mounted device may have a display that displays content for a user. Head-mounted support structures in the device support the display on the head of the user. The head-mounted device may have a left lens that directs images from the left portion of the display to a left eye box and a right lens that directs images from the right portion of the display to a right eye box. 

“Each lens may include a lens element that is coupled to the display. The lens element may be attached to the display with a layer of optically clear adhesive or the lens element may be formed from gel that directly contacts the display. The lens element attached to the display may have protrusions or recesses to accommodate input-output components. A single lens element may be attached to both the left and right portions of the display.”

About Apple Glasses

When it comes to Apple Glasses, such a device will arrive in 2022 or 2023, depending on which rumor you believe. It will be a head-mounted display. Or may have a design like “normal” glasses. Or it may be eventually be available in both. The Apple Glasses may or may not have to be tethered to an iPhone to work. Other rumors say that Apple Glasses could have a cU.S.tom-build Apple chip and a dedicated operating system dubbed “rOS” for “reality operating system.”

Figure 5 is a top view of an illustrative head-mounted device including a display attached to a lens module that includes an edge coating.




Article provided with permission from AppleWorld.Today