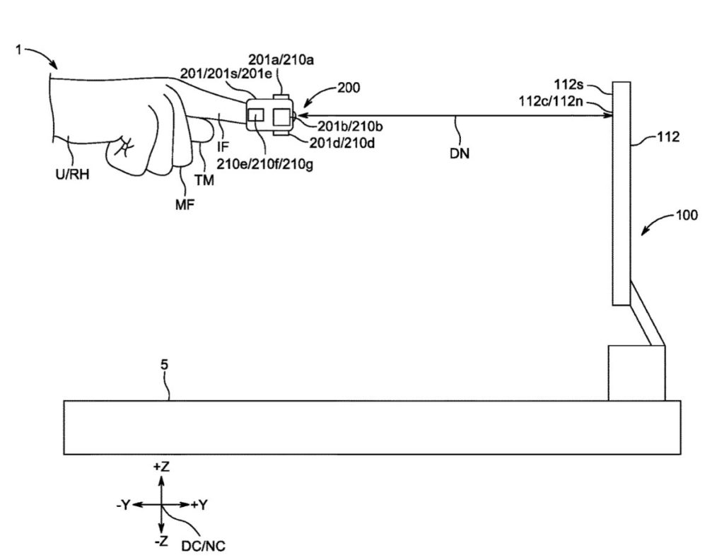
Apple has filed for another patent (number 20210096660 ) dubbed “finger-wearable input assembly for controlling an electronic device. This “Apple Ring” would allow the wearer to control a Mac. However, the computer would apparently need to have a touch display or a monitor that detects motion.
In the patent filing, Apple says that some systems may include an electronic device operative to provide a user interface, as well as an electronic input assembly that may be manipulated by a user for generating user control signals operative to adjust the user interface. However, the tech giant says that existing systems are often inefficient and/or ineffective and they often limit the ways by which a user may interact with an input assembly to generate particular user control signals. transceiver, and rechargeable power source.
Here’s part of Apple’s explanation of its plans: “An input assembly for controlling an electronic device may be provided that includes a housing structure providing an external surface and an internal surface that at least partially defines a passageway operative to receive a first digit of a user’s hand for wearing the input assembly, a plurality of sensors at least partially protected by the housing structure, the plurality of sensors including a first sensor operative to detect, at a first portion of the external surface, a first touch event by a second digit of the user’s hand when the input assembly is worn by the first digit, and a second sensor operative to detect, at a second portion of the external surface, a second touch event by a third digit of the user’s hand when the input assembly is worn by the first digit, and a processor operative to generate control data based on the first touch event and the second touch event for at least partially controlling an action of a user interface of the electronic device.”
Article provided with permission from AppleWorld.Today

