Apple has been granted a patent for a finger device that would allow you to control a Mac or iPad by pointing at the screen and moving your finger. This one (number 11,275,456) is dubbed “finger-wearable input assembly for controlling an electronic device.”
In the patent data, Apple says that existing systems for interacting with computer devices are “often inefficient and/or ineffective and they often limit the ways by which a user may interact with an input assembly to generate particular user control signals.” The tech giant thinks that finger-wearable input assemblies and methods for using finger-wearable input assemblies for controlling an electronic device could offer an improved method.
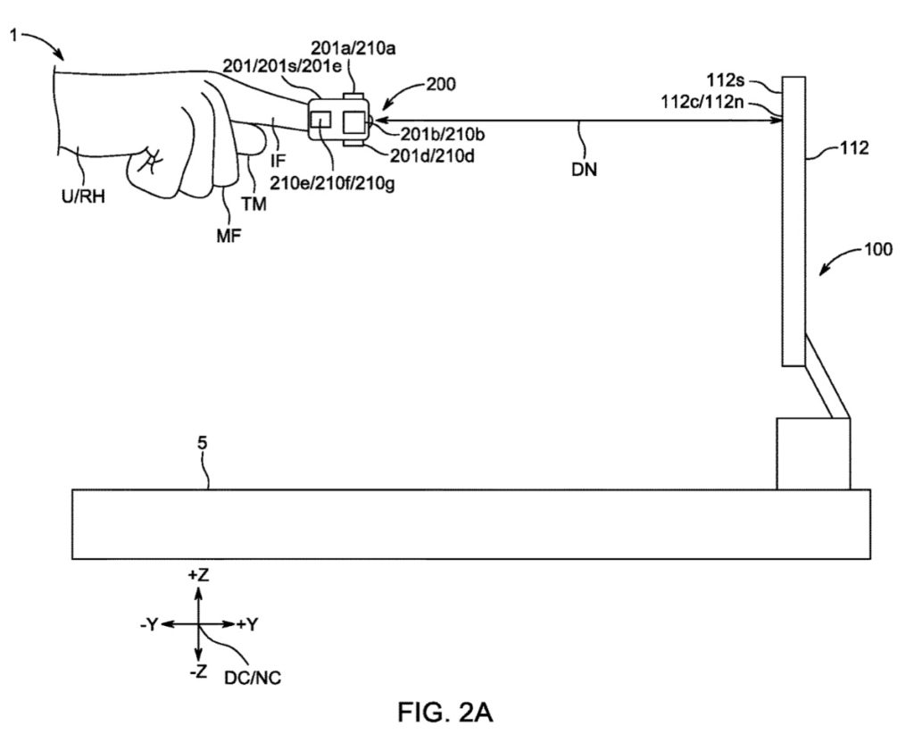
The electronic devices may include sensors that would interact with sensors in a Mac or iPad display. This would allow the user of the finger device to least partial control actions on the computing device by gestures and movements.
The finger device described in this patent is different for the “Apple Ring” and “Apple Glove” mentioned in dozens of other patents.
Article provided with permission from AppleWorld.Today

