Apple has been granted a patent for “Computer Systems With Handheld Controllers.” Basically, it involves controlling Macs, iPhone, and iPads with Apple Vision Pros and/or Apple Pencils.
About the patent
The patent relates generally to computer systems and, more particularly, to input devices for computer systems. Obviously, lectronic devices such as computers can be controlled using computer mice and other input accessories. In virtual reality systems, force-feedback gloves can be used to control virtual objects. Cellular telephones may have touch screen displays and vibrators that are used to create haptic feedback in response to touch input.
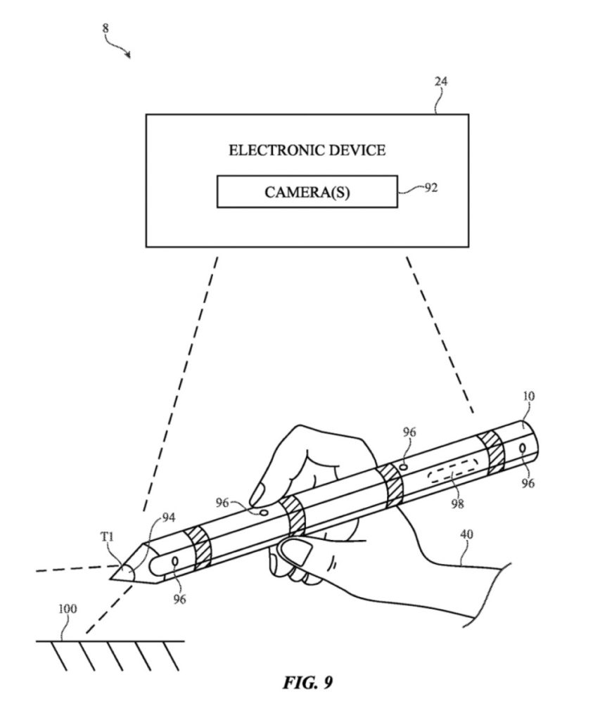
However, Apple says that devices such as these may not be convenient for a user, may be cumbersome or uncomfortable, or may provide inadequate feedback. Apple’s solution, at least per this patent, is a system that may include an electronic device such as a head-mounted device (a Vision Pro) and a handheld controller (an Apple Pencil) for controlling the electronic device. The head-mounted device or other device may have a display configured to display virtual content that is overlaid onto real-world content.
Summary of the patent
Here’s Apple’s abstract of the patent: “A system may include an electronic device such as a head-mounted device and a handheld controller for controlling the electronic device. The handheld controller may have a housing with an elongated shaft extending between first and second tip portions.
“The handheld controller may include a touch sensor for gathering touch input, a button, rotating scroll wheel, or other input device for gathering other user input, a force sensor for gathering force input, an inertial measurement unit for gathering motion data, a camera for capturing images of the environment, and/or one or more haptic output devices such as an actuator for providing haptic output. The control circuitry may send control signals to the head-mounted device based on the sensor data and user input (e.g., force input, touch input, motion input, voice input, etc.) gathered with the handheld controller.”
I hope you’ll help support Apple World Today by becoming a patron. Almost all our income is from Patreon support and sponsored posts. Patreon pricing ranges from $2 to $10 a month. Thanks in advance for your support.
Article provided with permission from AppleWorld.Today

