Let the Apple Car rumors roll on. Apple has been granted a patent (number 11,435,888) for controlling the heating/cooling system in a vehicle. Dubbed “system with position-sensitive electronic device interface,” it would also involve a thermostat for a “smart home.”
About the patent
In the patent filing, Apple says that electronic equipment is often provided with buttons and other input devices. A user may use the input devices to adjust settings for the equipment. For example, a user may rotate a knob on an audio system in a home or vehicle to adjust a volume setting.
However, Apple says it can be challenging to interact with electronic equipment using only the input devices that are included in the equipment. Button-based interfaces are often limiting, but electronic equipment may not include more elaborate interfaces in order to minimize cost and complexity.
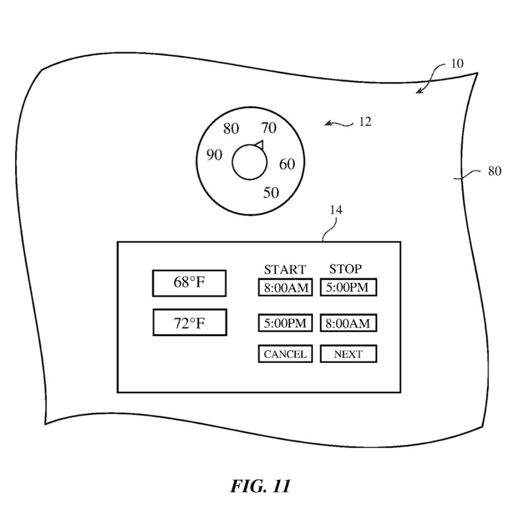
Apple’s idea is to allow a user to control a vehicle or smart home thermostat using a device such as an iPhone or Apple Watch. A user may tap on on-screen options and other interface elements in the user control interface to adjust settings in the electronic equipment. The system may monitor the position of the electronic device relative to the electronic equipment and can dynamically update the displayed content based on the current device position.
Summary of the patent
Here’s Apple’s abstract of the patent: Systems are provided that include electronic equipment and electronic devices. A system may include electronic equipment such as a thermostat or other equipment in a vehicle or home, vehicle navigation equipment, networking equipment, computer equipment, equipment with speakers for playing audio, and other electronic equipment. An electronic device such as a portable electronic device may be placed in the vicinity of electronic equipment by a user.
“In response to detecting that the electronic device is adjacent to the electronic equipment, control circuitry in the electronic device can automatically display content of the electric device such as a user control interface for the electronic device or information related to operation of the electronic equipment. The system may monitor the position of the electronic device relative to the electronic equipment and can dynamically update the displayed content based on the current device position.”
Article provided with permission from AppleWorld.Today

