Apple has been granted a patent (number 20120222985) for a composite enclosure; the invention involves the build of the iPhone.

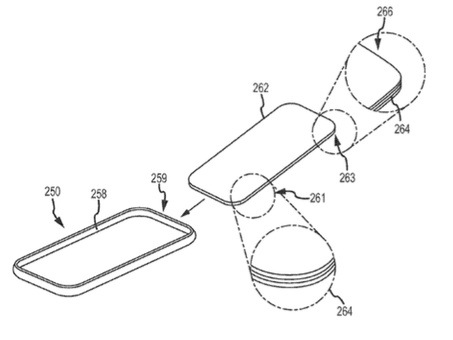
Per the patent, a composite enclosure for housing electronic devices, and methods related thereto, are provided. In particular, in some embodiments, a method of manufacturing a composite enclosure for housing electronic devices includes winding composite material about a mandrel and curing the composite material to create a composite hoop.

A panel is formed in a separate process that includes stacking a plurality of composite layers in a mold and curing the composite layers to create a composite panel. The composite hoop and the composite panel are bonded together to form the composite enclosure.

Here’s Apple’s background on the invention: “A typical mobile phone enclosure consists of a back panel, four side walls, and a glass front panel. Generally, the enclosure may be made of molded plastic, metal or other materials. Composite materials provide a low weight to strength ratio and may be transparent to radio waves and, as such, may provide advantages over other materials. This is especially true when the back wall and side walls are formed as a single assembly to provide the structure with adequate strength and rigidity.

“However, it is difficult for composite materials to conform to tight bends that typically provide the contours of enclosures. In particular, a transition from a back wall to a side wall that is approximately normal to the back wall may be particularly difficult. As a rule, the tighter the radius of the transition from the back wall to the sidewalls, the more difficult it is for the composite material to meet the specification without presenting issues. In some designs, no radius is allowed (e.g. the transition occurs at a single point and is 90 degrees). Additionally, overlapping layers that form corners of the sidewalls are difficult to form with an aesthetically pleasing and consistent finish.”

Kevin M. Kenney and Peter N. Russell-Clarke are the inventors.

Also appearing at the U.S. Patent & Trademark Office is a new patent (number 20120224951) for a compact fan assembly with thrust bearing. A fan assembly for a computing device is disclosed. The device can include an impeller having a number of blades and a motor for turning the blades.

The motor can turn the blades via a magnetic interaction between the impeller and the motor. A thrust bearing can be used to control a position of the impeller relative to the motor. In particular, the impeller can be configured to rotate around an axis and the thrust bearing can be used to control movement of the impeller in a direction aligned with the axis. In one embodiment, the impeller can be configured to generate aerodynamic forces, such as lift, and the parameters associated with the thrust bearing can be selected to counteract the aerodynamic forces so that the impeller remains within a desired positional range relative to the motor.

The inventors are Brett W. Degner, Cheng P. Tan, Con D. Phan, Connor R. Duke, Frank F. Liang, Jesse T. Dybenko, Thomas W. Wilson Jr. and Keith J. Hendren.