A new Apple patent (number 20110304597) shows that Apple is working on a low power backlight for a display. The invention provides systems, devices and methods for controlling backlighting in an electronic device.

In one embodiment, an electronic device an electronic device having a processor and a display assembly coupled to the processor. The display assembly being configured to provide visual output. The display assembly includes a backlight layer having one or more light sources. At least one of the one or more light sources is coupled to ground via a switch. The switch is configured to selectively operate the one or more light sources to adjust a brightness of the visual output. Edward Craig Hyatt is the inventor.

Here’s Apple’s background and summary of the invention: “Electronic devices such as desktop computers, mobile computing devices, personal digital assistants, cell phones and mobile media devices have become ubiquitous in today’s society. They serve as work tools, communication devices and provide entertainment, among other things. In some implementations, graphical displays for the devices are backlit with one or more light sources.

“The backlighting, however, may produce an uneven illumination of the display. Increasing the number of light sources and distributing them evenly may provide for more even illumination, but at the cost of increased power consumption. Furthermore, the brightness level generated by using multiple light sources may not be suitable for all ambient lighting situations.

“Certain embodiments may take the form of an electronic device having a processor and a display assembly coupled to the processor. The display assembly may be configured to provide visual output. The display assembly includes a backlight layer having one or more light sources. At least one light source is coupled to ground via a switch. The switch is configured to selectively operate the one or more light sources to adjust a brightness of the visual output.

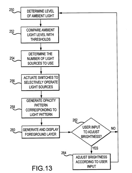
“Another embodiment may take the form of a method of operating a visual display of an electronic device. The method includes providing one or more control signals to selectively operate a plurality of light sources. The method also includes providing a voltage level to the plurality of light sources selected for operation. The voltage level is adjusted to correspond to the voltage demands for operation of the selected light sources.

“Yet another embodiment may take the form of an electronic device having one or more ambient light sensors and a processor in communication with the one or more ambient light sensors. The processor is configured to determine a relative brightness of ambient light based on at least one signal from the ambient light sensors. Additionally, the electronic device includes a buck-boost regulator configured to receive a control signal from the processor.

“The buck-boost regulator adjusts an output voltage based on the control signal. A plurality of light sources are configured to receive the output voltage of the buck-boost regulator and at least one switch is coupled to at least one of the plurality of light sources. The at least one switch is operable by a signal received from the processor to selectively actuate at least one of the plurality of light sources.”

In addition, another Apple patent (number 20110307873) has appeared for a system and method for entropy pool verification. Disclosed are systems, methods, and non-transitory computer-readable storage media for detecting changes in a source of entropy. A system configured to practice the method generates a cyclic graph based at least in part on the values in the entropy pool. Using the cyclic graph and one or more starting points, the system establishes one or more baseline properties for the cyclic graph.

These properties can include the number of steps required to identify a cycle in the graph or the number of steps required to traverse the graph from one or more starting points to a selected end point. The computed properties are then stored for later use. As execution progresses, the system monitors the entropy pool to detect a change by regenerating the cyclic graph and using the stored properties. The inventors are Jon McLachlan, Julien Lerouge, Nicholas T. Sullivan, Ganna Zaks and Augustin J. Farrugia.

— Dennis Sellers