An Apple patent for an audio jack with pogo pins for conductive contacts has appeared at the US Patent & Trademark Office showing that Apple plans to build even smaller headphone jacks in upcoming iPhones and iPods.

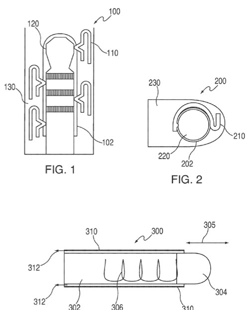
The patent involves an audio jack that can allow electrical connections between an audio plug and an electronic device. The audio jack can include a series of pogo pins operative to extend into an audio jack cavity to provide conductive contacts for an audio plug placed within the audio jack. When an audio plug is inserted in the audio jack, the deflectable tips of each pogo pin can deflect and contact audio plug contact portions or regions. The end of the pogo pins opposite the deflectable tips can be coupled to an appropriate electronic device component, such as a printed circuit board, flex circuit, cable, or any other suitable component to provide a conductive path for signals between the audio plug and the electronic device. The inventors are Sean Murphy and John Difonzo.

Here’s Apple’s background and summary of the invention: “Many electronic devices include audio jacks for providing audio generated by electronic device circuitry to an audio output component coupled to the device. For example, many portable electronic devices include audio jacks to which headphone or speaker audio plugs can connect to transfer signals carrying the audio. Audio jacks include several conductive pads operative to contact audio plug contact portions or regions to provide electrical paths through which audio signals, power signals, and data signals can be transferred.

“The conductive pads typically can be formed from stamped sheet metal and can be shaped in a manner to ensure electrical contact and retention when an audio plug is inserted in the audio jack. Suitable shapes can include, for example, cantilever beams extending into an audio jack cavity and operative to deflect away from an audio plug when the audio plug is inserted in the audio jack.

“The cantilever beam, however, can take up large amounts of space within the audio jack assembly. In particular, a cantilever beam can require a substantial minimum length for ensuring that the force generated by the beam deflection is sufficient to maintain the beam in contact with an audio plug contact portion. In addition, the cantilever beam requires space in at least two dimensions, which can prevent the size of an electronic device from being reduced. This can especially be an issue for electronic devices so small that the audio jack size effectively determines the size of the device.

“An audio jack having pogo pins to provide conductive contacts with audio plug contact portions is provided. The audio jack can include a cavity into which an audio plug can be inserted. A series of pogo pins can extend into the cavity to provide conductive contacts for audio plug contacts. When an audio plug is inserted in the audio jack, the deflectable tips of each pogo pin can sequentially deflect to allow the audio plug to be inserted into the cavity. The end of the pogo pins opposite the deflectable tips can be coupled to an appropriate electronic device component to transfer signals, such as a printed circuit board, flex circuit, cable, or any other suitable component.

“The pogo pins can be positioned in the audio jack using any suitable orientation. In some embodiments, the pogo pins can be positioned in substantially a single plane such that the pogo pins require space in a single dimension of the audio jack assembly. The pogo pins can be oriented substantially orthogonal to the audio jack cavity (e.g., such that the deflectable tips extend orthogonally into the cavity), or at an angle relative to the cavity walls. In particular, it may be desirable to orient the pogo pins at an angle to prevent or reduce the chances that an audio jack snags on a deflectable tip upon insertion or removal.

“The audio jack can include any suitable number of pogo pins. For example, the audio jack can include at least one pogo pin for each conductive portion of an audio plug inserted within the audio jack (e.g., four pins for each of the microphone, left, right and ground channels). As another example, the audio jack can include several pogo pins for a single audio plug conductive portion, for example as a detect mechanism (e.g., two pogo pins for the distal-most conductive portion, for example associated with the ground).

“The pogo pins can have any suitable dimension. In particular, the pogo pin dimensions can be selected based on the size of the audio plug contact portions, the distance between the audio jack cavity and an electronic device component, or any other criteria. In some embodiments, a characteristic dimension of the deflectable tip (e.g., a diameter or radius of the tip) can be less than the maximum amount by which the deflectable tip can extend into the cavity.”