An Apple patent has appeared at the US Patent & Trademark Office that could hint at a new iPhone headset. Patent number 20100128887 involves detecting the respositioning of an earphone using a microphone and associated action.

The invention relates generally to an earphone. More particularly, this invention relates to detecting the repositioning of an earphone that is worn by a user.

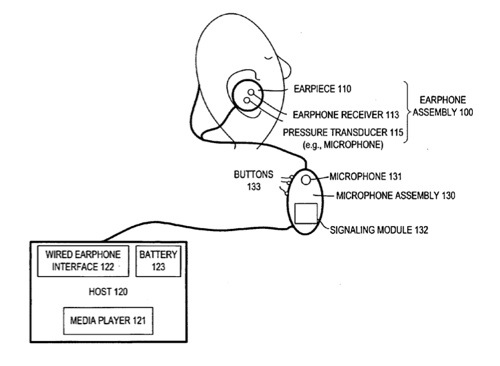
A system detects the repositioning of an earphone that is worn by a user, and changes an operation mode of a host coupled to the earphone. Within the earphone is a pressure transducer that detects a pressure change caused by the repositioning of the earphone. A signaling mechanism sends a repositioning detection signal to the host in response to a signal from the pressure transducer indicating the detection of the pressure change. The inventors are Jae H. Lee and Wendell B. Sander.

Here’s Apple’s background and summary of the invention: “Earphones (also known as earbuds or headphones) are widely used for listening to audio sources for recreation. An earphone contains a receiver ( a small speaker) that is held close to the user’s ear to convert electric signals into sound. Earphones can be connected to an audio source, such as an audio amplifier or a media player, which resides in stationary equipment (e.g., a CD or DVD player, a home theater, a personal computer, etc.), or in a portable device (e.g., a digital audio player, an MP3 player, a mobile phone, a personal digital assistant, etc.).

“An earphone may be combined or integrated with a microphone to form a headset, that is used for two-way communications through a host device, such as a cellular phone, or a desktop or laptop computer executing voice over IP (Internet Protocol) software. The headset can communicate with the host device through either a wired connection or a wireless link.
“A method and system for detecting the repositioning of an earphone is described herein. The system comprises an earphone assembly (earphone) that is to be coupled to a host. Within the earphone is a pressure transducer that detects a pressure change caused by the repositioning of the earphone against the user’s ear. Upon detection of the pressure change, the pressure transducer transmits a signal to a signaling mechanism that is also outside the host. The signaling mechanism sends a repositioning detection signal to the host in response to the signal from the pressure transducer. The repositioning detection signal may be superimposed on a microphone output audio signal when it is transmitted to the host.

“Upon receipt of the repositioning detecting signal, the host changes its operation mode. In one scenario, the host may include a media player that is connected to the earphone and is playing music through the earphone. The player pauses music playing when the repositioning detecting signal indicates removal of the earphone from the user’s ear.

“The media player may automatically resume music playing when the repositioning detecting signal indicates that the earphone has been re-inserted into the user’s ear or is otherwise ‘at the ear.’ In another scenario, the host may include a telephone module which automatically switches to speakerphone mode when the repositioning detecting signal indicates the removal of the earphone from the user’s ear. The telephone module may switch back to receiver mode (handset mode) when the repositioning detecting signal indicates that the earphone has resumed its at-the-ear position. It is understood that other scenarios, involving different operation modes of the host, may also utilize the repositioning detection signal.”