New report says Apple’s Liquid User interface has a negative affect on users who are blind or have low vision
AppleVis has released its 2025 edition of the Apple Vision Accessibility Report Card — and it’s mixed news for Apple. The report focuses specifically on the needs of people who are blind, DeafBlind, or who have low vision. AppleViz’s survey results indicate that...
Report: US consumers received more than $6.4 billion via mobile trade-in programs last year
Assurant’s new Mobile Trade-In and Upgrade Industry Trends Report, which shows U.S. consumers received more than $6.4 billion in value through mobile trade-in programs in 2025, a 42% increase year-over-year and the largest annual total since Assurant began tracking...
The Best iPhone Games for 2026
Your iPhone is the most powerful gaming device you carry every day, and the games available for it in 2026 are better than some full console releases from five years ago. Between massive competitive updates, stunning new ports, and a few indie gems that will eat your...
Apple has until March 30 to respond to Brazil’s competition watchdog about the company’s NFC payment policies
Apple has until the end of the month to respond to a set of technical and legal issues from CADE, Brazil’s competition watchdog, reports MacMagazine — as translated by 9to5Mac. “On Tuesday (17), the agency sent a formal notice to the tech company, requesting...
Apple France announces four events to celebrate Apple’s 50th birthday
Apple France has announced four new events to celebrate its 50th anniversary. All four are to be held at the Apple Store on Paris’s Champs-Elysees, over March 25, 2026, and March 26, reports AppleInsider. One is own March 26. As described in an Apple post: To...
Apple Sports app adds new in-app basketball brackets
Apple Sports — the free app for iPhone that gives fans access to real-time scores, stats, and more — has been updated to version 3.8.1. The upgrade provides new in-app brackets that let fans track the NCAA Division I men’s basketball tournament in real time, by...
The first two episodes of ‘Imperfect Women’ are now streaming on Apple TV
The first two episode of “Imperfect Women” are now streaming on Apple TV. The psychological thriller stars and is executive produced by Kerry Washington and Elisabeth Moss, and created for television by Annie Weisman, who also serves as showrunner. The...
Apple rolls out release candidates of its operating systems
Apple has rolled out release candidates of macOS Tahoe 26.4, iOS 26.4, iPadOS 26.4, tvOS 26.4, watchOS 26.4, and visionOS 26.4. A release candidate (RC), also known as gamma testing or “going silver”, is a beta version with the potential to be a stable product, which...
The Mac and iPad saw substantial annual growth in India as of the fourth quarter of 2025
The Mac and iPad see substantial annual growth in India as of the fourth quarter of 2025, according to new data from Omdia. Apple sold 296,000 Macs in the fourth quarter of 2025 for 7.3% market share. That compares to sales of 239,000 Macs and 6.9% market share in the...
Apple, Samsung Dominate the 2025 List of Highest-shipping Smartphone Models
Apple and Samsung dominated the list of highest-shipping models globally in 2025, with the two brands capturing the top two spots across major markets, according to Counterpoint Research’s Market Monitor Monthly Shipment Tracker, 2025. However, regional variations did...
Apple cracks down on ‘vibe coding’ apps in the App Store
Apple is cracking down on “vibe coding” apps that allow users with little to no programming experience to build apps or websites using natural language prompts, reports The Information (a subscription is required to read the article). Vibe coding is a 2025 software...
Apple’s 50th anniversary celebrations in China marred by ongoing disputes with Chinese regulators
Apple CEO is visiting China as pressure grows on the tech giant’s App Store policy in the country, reports Bloomberg. In addition to being present for the company’s 50th anniversary celebrations in the country, he’s also doing a bit of damage control. Lat week...
Musi’s lawsuit against Apple has been dismissed with prejudice
A lawsuit against Apple from the Musi music streaming app Musi has been dismissed, reports AppleInsider. A federal judge dismissed the lawsuit with prejudice, confirming Apple’s right to remove the free streaming app from the App Store. It was removed in September...
Apple Original Films unveils trailer for ‘Outcome’ starring Keanu Reeves
Apple Original Films has unveiled the trailer for director Jonah Hill’s upcoming dark comedy, “Outcome.” It stars Keanu Reeves, Hill, Cameron Diaz, Matt Bomer, Susan Lucci, Laverne Cox, David Spade, Martin Scorsese, Atsuko Okatsuka, Roy Wood, Jr., Welker White, Kaia...
’My Brother the Minotaur’ will premiere April 24 on Apple TV
Apple TV has announced the all-new animated kids and family adventure series “My Brother the Minotaur,” from Academy Award-nominated animation studio Cartoon Saloon and the award-winning children’s media company Dog Ears. It will premiere globally on Friday, April 24....
Welker White joins the cast of Apple TV’s ‘What Happens at Night’
Welker White has joined the cast of Apple TV’s “What Happens at Night” from Martin Scorsese, reports Deadline. White has been the famed director’s collaborator on projects including “GoodFellas,” “The Wolf of Wall Street,” “The Irishman,” and “Killers of the Flower...
Jesse Williams joins season five cast of Apple TV’s ‘The Morning Show’
Jesse (“Grey’s Anatomy,” “Only Murders in the Building”) Williams is joining the fifth season cast of Apple TV’s “The Morning Show,” reports Deadline. He joins Jennifer Aniston, Reese Witherspoon, two-time Emmy Award winner Billy Crudup, Mark Duplass, Nestor...
News items you should check out: March 18
Since I can’t cover everything, here are some recommended articles from other websites. ° From MacRumors: As Apple gears up to connect with developers at the 2026 Worldwide Developers Conference in June, it has created new Apple Developer accounts on two new social...
Apple’s senior director in charge of home devices departs to join Oura
Brian Lynch, who has been Apple’s senior director in charge of home devices since 2022 is departing to join Oura, reports Bloomberg‘s Mark Gurman (a subscription is required to read the article). At the smart ring company, he’ll serve as senior vice president of...
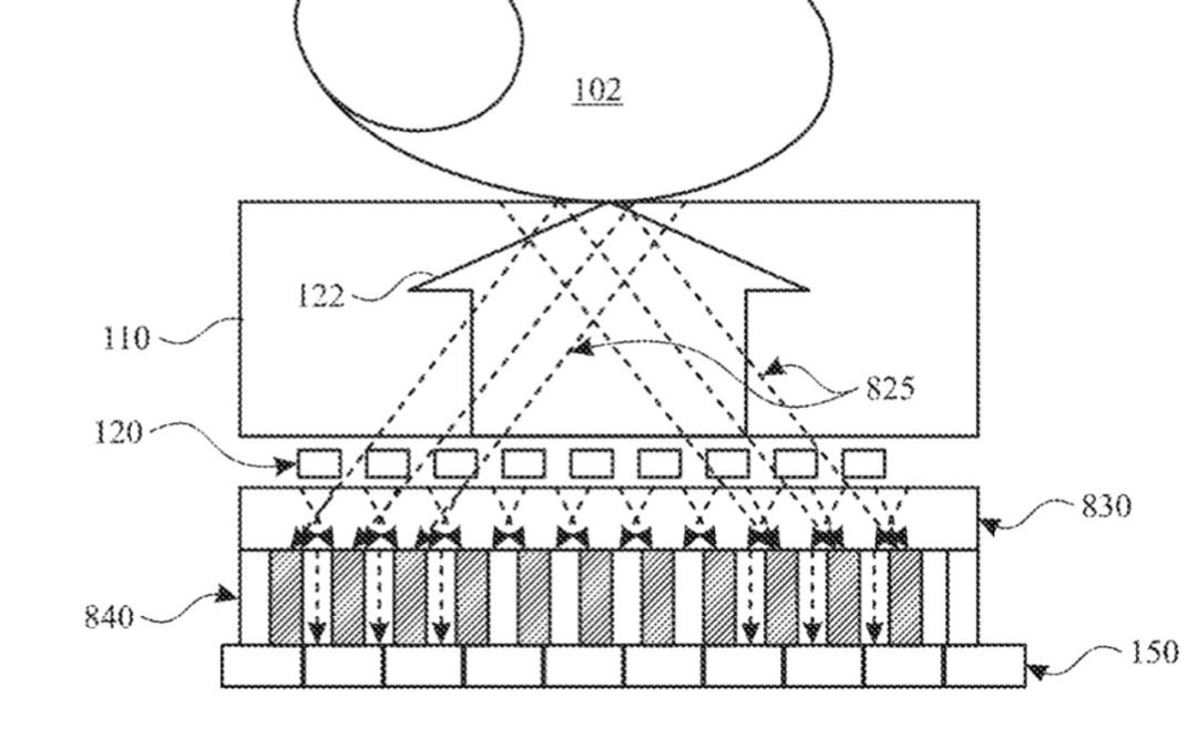
Apple patent involves a pop-out keyboard key that could double as a mouse
Future Mac keyboards could have a pop-out key that doubles as a mouse. Apple has been granted a patent for a “deployable mouse key.” About the patent The tech giant says the computer mouse has become an essential component of desktop computing since graphical...
Apple releases first Background Security Improvement for iPhones, iPads, and Macs
Apple has released the first Background Security Improvement (BSI) updates, which are enabled and installed automatically. Apple says it deliver important security improvements between software updates and are available only for the latest versions of iOS, iPadOS, and...
Apple expands its partnership with the Save theMusic Foundation
Apple is expanding its partnership with the Save The Music Foundation, CEO Tim Cook said in an X post. The expanded partnership will help to bring music programming to nearly 50 more schools, he said. The Save the Music Foundation is a non-profit organization...
Apple to host a ‘Today at Apple’ session feature the Korean boy band CORTIS
Apple is hosting a special Today at Apple session on March 18 featuring South Korean boy band CORTIS at its Myeongdong store in Seoul, South Korea. The session will be held from 4 p.m. to 5 p.m. local time, and it is already full. Here is a translated...
Foldable Smartphone Market Set for 20% Growth as the ‘iPhone Fold’ should intensify Competition
Global foldable smartphone shipments are projected to grow 20% in 2026, supported by Apple’s expected entry, continued premiumization and expanding original equipment manufacture (OEM) participation, according to Counterpoint Research’s Foldable Smartphone Market...
Apple Watch’s mobile pulse atrial fibrillation sign recording feature is now available in China
The mobile pulse rate atrial fibrillation sign recording software function of the Apple Watch has officially launched in mainland China. Users diagnosed with atrial fibrillation (AFibrillation) can turn on the atrial fibrillation history function, access important...
Beats and Nike team up for a special edition of the Powerbeats Pro 2
Beats, a wholly owned subsidiary of Apple, has announced its first hardware collaboration with Nike: a special-edition Nike-branded version of the Powerbeats Pro 2. Here’s how it’s described: The flexible secure-fit earhooks stay locked on comfortably, even...
Eleven companies team up to fight global scams
Eleven major technology and retail companies have signed a new pledge promising to share threat intelligence about how scammers are abusing their services, according to Axios (a subscription is required to read the article). Google, Microsoft, LinkedIn, Meta, Amazon,...
Omdia: More than half of 45–54 year olds now watch mobile video while watching TV
Be a patron to read this exclusive content!To view this content, you must be a member of Apple's Patreon at $5 or moreAlready a qualifying Patreon member? Refresh to access this content.
News items you should check out: March 17
Since I can’t cover everything, here are some recommended articles from other websites. ° From MacRumors: The new AirPods Max 2’s digital crown has a useful new feature. ° From AppleInsider: Neither of Apple’s first two CEOs are particularly remembered next...
Apple acquires MotionVFX, a developer of Final Cut Pro tools
Apple has acquired MotionVFX, a developer of plugins, visual effects, templates and motion graphics tools for Final Cut Pro. No details have been given as to the purchase price. Here’s the announcement on the MotionVFX web page: We are extremely excited to share that...