Analyst: iPhone 13 will have LEO satellite communication connectivity
In a note to clients — as noted by MacRumors — analyst Ming-Chi Kuo says the iPhone 13 will...
Read MoreIn a note to clients — as noted by MacRumors — analyst Ming-Chi Kuo says the iPhone 13 will...
Read MoreIn the new edition of his Power On newsletter, Bloomberg’s Mark Gurman thinks that Apple...
Read MoreApple has tweeted that you can watch season one of “Home Before Dark” for free on Apple TV+....
Read MoreI really like my 24-inch iMac; you can see my review here. Among other things, I appreciate the...
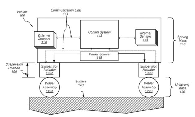
Read MoreApple has been granted a patent (number 11,100,659) for “object detection using multiple three...
Read More