CfA files formal complaint against Apple with the U.S. Customs and Border Protection
The Campaign for Accountability (CfA) has filed a formal complaint with U.S. Customs and Border...
Read MoreThe Campaign for Accountability (CfA) has filed a formal complaint with U.S. Customs and Border...
Read MoreIn a new support document, Apple acknowledges a glitch that prevents some iPhone 13 users from...
Read MoreAn Apple-commissioned study by Forrester Consulting shows that there are cost savings and business...
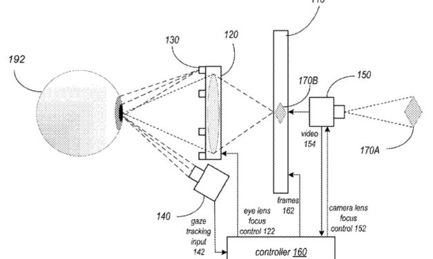
Read MoreApple has been granted a patent (number 11,126,004) for a “head-mounted electronic display device...
Read MoreSince I can’t cover everything, I’ll often direct your attention to articles from various other...
Read More