Apple has filed for a patent (number US 20240247929 A1) for an “Electronic Device With Optical Angle Sensor” that hints at foldable iPhones, iPads, and even Macs.

A July 23 DigiTimes report says Apple is conducting research and development for its first “foldable iPhone,” with a potential release targeted for 2026.

There have also been rumors (and patent filings) for foldable iPads and iPhones. As for a foldable MacBook, it would purportedly have an all-display design. A single large screen would be able to be folded in half, and the device would be dual-use. It would serve as a notebook when folded in half, and could be used as a monitor when paired with an external keyboard.

About the patent filing

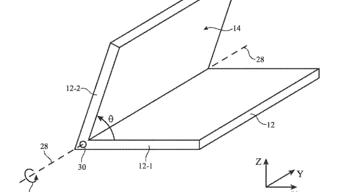
The patent filing elates generally to electronic devices, and, more particularly, to electronic devices with hinges. In the patent filing Apple notes that an electronic device can sometimes fold about a hinge. Such foldable electronic device can include a first housing portion and a second housing portion that folds with respect to the first housing portion about the hinge. The electronic device can sometimes include an angle sensor for detecting whether the first and second housing portions are in a folded position or an unfolded position.

However, Apple says it can be challenging to design an angle sensor for foldable electronic devices. Conventional angle sensors are typically implemented using magnetic angle sensors. Magnetic angle sensors, however, are susceptible to magnetic fields from static magnets, which can be found in many electronic devices. Apple thinks it can do better. 

Summary of the patent filing

Here’s Apple’s abstract of the patent filing: “An electronic device can include housing with first and second housing portions configured to rotate relative to one another about a hinge, a hinge angle encoder that rotates with the hinge, an emitter that emits light towards the hinge angle encoder, and a sensor die that receives light reflecting back from the hinge angle encoder. The hinge angle encoder may include an absorptive polarizing filter layer and a reflective diffuser layer. A pixelated polarizer may be formed overlapping an array of photodetectors in the sensor die. The electronic device may include processing circuitry configured to compute a hinge angle by which the first and second housing portions are rotated based on one or more intensity values acquired using the array of photodetectors.”




Article provided with permission from AppleWorld.Today