A newly filed Apple patent shows that future Vision Pros could have a fan to cool users and blow away unwanted particles. It’s dubbed “Fan With Debris Mitigation.”

About the patent filing

The patent filing relates generally to cooling devices, and, more particularly, to fans for head-mountable devices with debris mitigation features. In the patent filing, Apple says that components of a head-mountable device can generate heat during operation. 

The performance of electronic devices are often limited by their ability to effectively dissipate the heat generated by computing and other workloads. Excessive heat for long durations of time can damage the components of the head-mountable device and cause discomfort to the user. 

Apple notes that heat can be mitigated in a number of ways, including with active mechanisms (e.g., fans, blowers, air movers, and the like) that are integrated into the head-mountable device. In order to dissipate heat effectively within a small form factor, active cooling is sometimes used. 

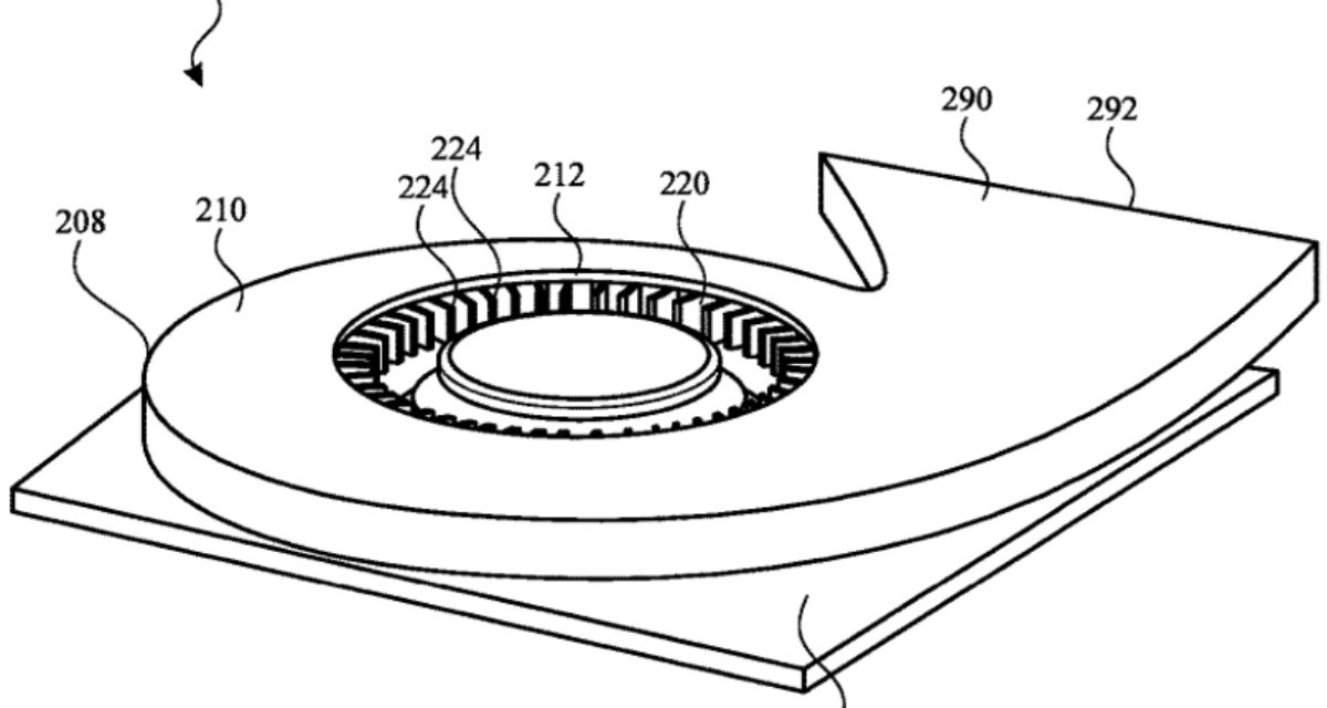
An active cooling device (e.g., fans, blowers, air movers, and the like) that would generate a flow of air from an inlet to an outlet thereof. Such inlets and outlets can define a pathway that receives air from and/or delivers air to an environment external to the head-mountable device. However, by providing such exposure to an external environment, the fan is susceptible to intrusion by particles or other debris from the external environment. 

In particular, when the fan is not in operation, such particles can collect and become lodged between the parts of the fan. In such a condition, the fan may encounter difficultly resuming operation due to the introduction of particles between moving parts of the fan. In particular, particles lodged between the stationary parts (i.e., fan housing) and moving parts (i.e., rotor, impeller, etc.) can cause the fan to stall.

Apple’s idea is to equip Vision Pros with fans that mitigate the intrusion of particles and other debris. The fans can include openings to allow particles to exit the fan. And they can include a variable spacing between the stationary parts (i.e., fan housing) and moving parts (i.e., rotor, impeller, etc.) to avoid collection of particles. What’s more, fans can include an adhesive pad that collects and retains particles at a location that does not interfere with operation of the impeller.

Summary of the patent filing

Here’s Apple’s abstract of the patent filing: “A head-mountable device can include a fan that effectively manages heat while also mitigating the intrusion of particles and other debris. Fans can include a protrusion that creates a tortuous pathway to direct incoming particles away from sensitive regions. 

“Fans can include openings to allow particles to exit the fan enclosure and avoid interaction with the impeller. Fans can include a variable spacing between the impeller and the base plate to avoid collection of particles. Fans can include an adhesive pad that collects and retains particles at a location that does not interfere with rotation of the impeller.”

About the Vision Pro

Demos of the Apple Vision Pro at Apple Stores in the U.S. can be reserved on Apple.com. To reserve a free Vision Pro demo online, go here, then follow the steps to book an appointment at your local Apple Store. 

Pricing for the Vision Pro starts at US$3,499 with 256GB of storage. ZEISS Optical Inserts are available: $99 for reading lens and $149 for prescription lens. 




Article provided with permission from AppleWorld.Today