A new patent filing (number US 20240069352 A1) by Apple shows the company is considering detachable handheld controllers such as the Apple Pencil for use with the Vision Pro.
About the patent filing
In the patent filing, Apple notes that input devices such as mice and touch screen displays aren’t ideal for spatial computers such as the Vision Pro. However, the company thinks an Apple Pencil would work just fine.
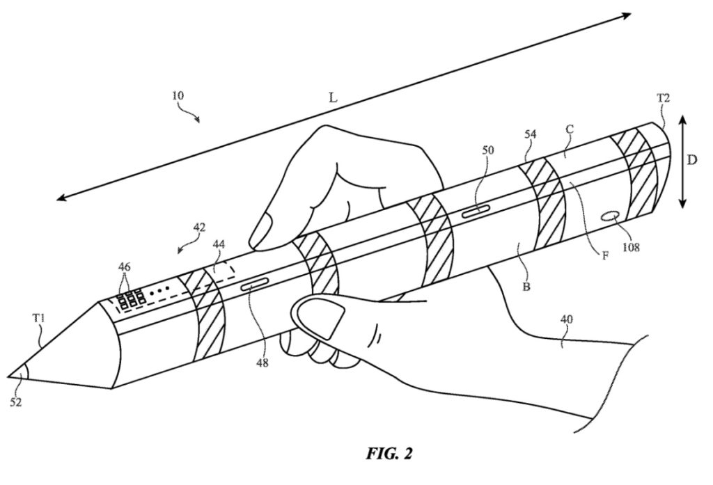
Apple says “a “A handheld controller [which would apparently be an Apple Pencil] may, as an example, include an inertial measurement unit with an accelerometer for gathering information on controller motions such as swiping motions, waving motions, writing movements, drawing movements, shaking motions, rotations, etc.”
The Apple Pencil could also provide haptic feedback to the hands of a Vision Pro user. And Apple thinks it would be useful to provide a Vision Pro strap to which the Pencil could be magnetically attached — and perhaps even charge it.
Summary of the patent filing
Here’s Apple’s abstract of the patent filing: “A system may include an electronic device such as a head-mounted device and a handheld controller for controlling the electronic device. The handheld controller may have a housing with an elongated shaft extending between first and second tip portions. The handheld controller may have power receiving circuitry configured to receive power from a power source.
“The power source may be incorporated into an electronic device such as a wireless charging dock or stick, a battery case, or a head-mounted device. The power source may supply power through terminals that form ohmic contacts with mating terminals in the finger device or may transmit power wirelessly using capacitive coupling or inductive charging arrangements. Magnets may be used to hold and align the elongated shaft of the handheld controller on the power source.”
About the Vision Pro
Demos of the Apple Vision Pro at Apple Stores in the U.S. can be reserved on Apple.com. To reserve a free Vision Pro demo online, go here, then follow the steps to book an appointment at your local Apple Store.
Pricing for the Vision Pro starts at US$3,499 with 256GB of storage. ZEISS Optical Inserts are available: $99 for reading lens and $149 for prescription lens.
Article provided with permission from AppleWorld.Today

