Future Apple Pencil could have different features provided by swappable sleeves as evidenced by a new patent filing (number US 20240061520 A1) for a “Handheld Device With Sleeves.” And the accessories might work with the Vision Pro via an iPad.
About the patent filing
In the patent filing, Apple notes electronic devices can be controlled with accessories such as computer mice and other input accessories. Some devices, such as tablet computers, have touch-sensitive displays. An input device such as a computer stylus may be used to interact with a touch-sensitive display.
For example, a user of a stylus may draw on the display. In virtual reality systems, force-feedback gloves can be used to control virtual objects. Cellular telephones may have touch screen displays and vibrators that are used to create haptic feedback in response to touch input.
Apple says that devices such as these “may not be convenient for a user, may be cumbersome or uncomfortable, or may provide inadequate feedback.” The tech giant’s idea includes a head-mounted device (the Vision Pro) and a handheld input device (an Apple Pencil)for controlling the electronic device. The head-mounted device or other device may have a display configured to display virtual content that is overlaid onto real-world content.
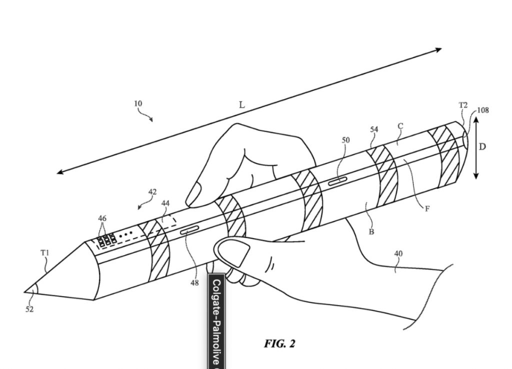
The Pencil Stylus may include a stylus and a removable sleeve on the stylus. The input-output capabilities of the handheld input device may be shared between the stylus and the removable sleeve. The stylus may include touch sensor circuitry, a force-sensitive tip, and a motion sensor. The sleeve may include conductors for translating touch input on the sleeve to the touch sensor circuitry on the stylus, a deformable member for translating forces on the sleeve to the force-sensitive tip of the stylus, and visual markers that can be detected by an external camera and used with motion sensor data from the stylus to track the handheld input device.
What’s more, the removable sleeve may include haptic output devices and a battery and may be attached to an item without electronics. Of course, an Apple Pencil with swappable sleeves would have to provide input to a Vision Pro using an iPad as an intermediate device.
Summary of the patent filing
Here’s Apple’s abstract of the patent filing: “A system may include an electronic device such as a head-mounted device and a handheld input device for controlling the electronic device. The handheld input device may include a stylus and a removable sleeve on the stylus. The input-output capabilities of the handheld input device may be shared between the stylus and the removable sleeve.
“The stylus may include touch sensor circuitry, a force-sensitive tip, and a motion sensor. The sleeve may include conductors for translating touch input on the sleeve to the touch sensor circuitry on the stylus, a deformable member for translating forces on the sleeve to the force-sensitive tip of the stylus, and visual markers that can be detected by an external camera and used with motion sensor data from the stylus to track the handheld input device. The removable sleeve may include haptic output devices and a battery and may be attached to an item without electronics.
Article provided with permission from AppleWorld.Today

