Apple has been granted a patent (number US 11672089 B2) for “sensor detection of magnetic support system for electronic devices.” I hope it means we can anticipate iMacs and Studio Displays with height-adjustment features.

Mac Studio: Features M1 Max and the…

Please enable JavaScript

About the patent

In the patent filing, Apple notes that computer device designers often desire to control positioning of a computer monitor or similar display at whatever height and orientation best suited for the needs of the user. This enables the display to accommodate users and desktop surfaces of different heights, sizes, and postures. Users also generally prefer to adjust the positioning of the monitor with little expended effort.

However, Apple notes that, while various existing display stands provide tilt, rotation, and vertical height adjustment of monitors, these features often come at the expense of being convenient and natural to use. For example, it can be difficult to mount the monitor to a stand, especially when the rear side of the monitor is not easily accessible or the monitor is to be mounted to the stand while the stand is in a standing position. These issues can make using a display stand difficult, awkward, and time consuming and impede the stand from having a high quality, satisfying user experience. Apple’s patent involves improvements to stands and supports for electronic devices.

Summary of the patent

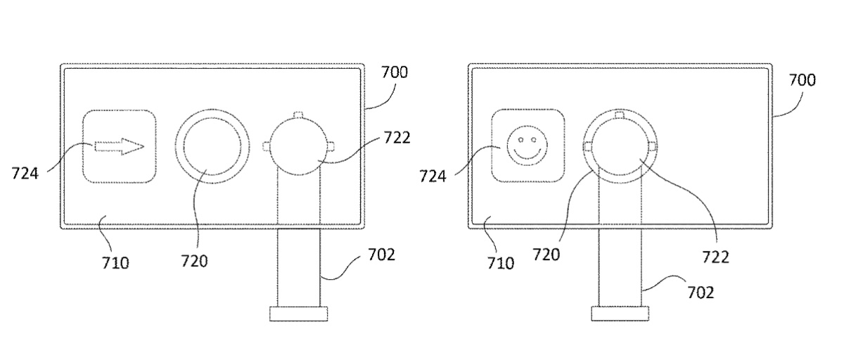
Here’s Apple’s abstract of the patent: “Support systems for electronic devices such as display screens are described and have support connector portions configured to connect to support devices such as adjustable mount supports. The support devices have magnetic elements, and the display devices have magnetic sensors configured to detect the magnetic fields emitted from the support devices. A relationship between the magnetic fields detected and target magnetic field values is determined to provide an output signal or indicator of the propriety of the support device used or the propriety of its connection to the display device.”




Article provided with permission from AppleWorld.Today