Apple has filed for a patent (number 20220185138) for a modular charging system for an Apple Car.

About the patent filing

If/when it arrives, the Apple Car will almost certainly be an electric vehicle. Electric cars are charged from prevalent legacy alternating current power outlets of the existing infrastructure. An on-board charger (OBC) is included in the vehicle to enable convenient charging of its battery. 

Apple says that by having the OBC on the car, the charging infrastructure can be less expensive (e.g., not every charger needs power conversion electronics, and some may pass AC power directly from a power grid to the car). 

However the power level that can be achieved using an on-board charger is practically limited by size and weight considerations for equipment installed in the vehicle, which causes long charge times. Plus fast DC charging is available at specialized charging stations available only at select locations. 

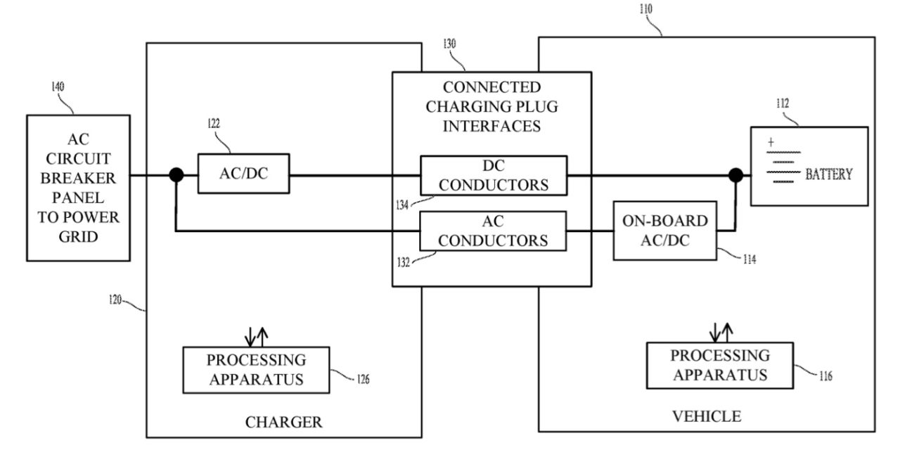
Apple’s ideas is a modular charging system that includes: a first alternating current to direct current converter; a charging plug interface including a first pair of conductors connected to alternating current input terminals of the first alternating current to direct current converter and a second pair of conductors connected to direct current terminals of the first alternating current to direct current converter.

It would also include: a processing apparatus configured to: receive one or more control signals while a vehicle is connected to the charging plug interface; and, responsive to the one or more control signals, charge a battery of the vehicle via direct current flowing through the second pair of conductors concurrent with charging of the battery via alternating current flowing through the first pair of conductors to power an on-board alternating current to direct current converter of the vehicle. 

The patent filing also talks of a system for connecting a vehicle to a charger using a charging plug interface that includes a first pair of conductors connected to alternating current terminals of an on-board alternating current-to-direct current converter of the vehicle and a second pair of conductors connected to terminals of a battery of the vehicle. What’s more, the system could be built to power a battery configured to deliver power to one or more motors to move the Apple Car.

Summary of the patent filing

Here’s Apple’s abstract of the patent filing: “Systems and methods for modular charging of vehicles are described. For example, a method may include connecting a vehicle to a charger using a charging plug interface that includes a first pair of conductors connected to alternating current terminals of an on-board alternating current-to-direct current converter of the vehicle and a second pair of conductors connected to terminals of a battery of the vehicle; and charging the battery of the vehicle via direct current flowing through the second pair of conductors concurrent with charging of the battery via alternating current flowing through the first pair of conductors to power the on-board alternating current to direct current converter.”

When might we see an ‘Apple Car’?

On. Nov. 18, 2021, Bloomberg reported that Apple is accelerating development on its “Apple Car.” The article says the electric vehicle will be self-driving and could roll out in 2025. 

What’s more, in a note to clients — as noted by AppleInsider — investment bank Wedbush says Apple is likely to announce a strategic electric vehicle partnership in 2022 to lay the groundwork for an “Apple Car” release in 2025.




Article provided with permission from AppleWorld.Today