Future Mac keyboards could have a pop-out key that doubles as a mouse. Apple has filed for a patent (number 20220155877) for a “deployable mouse key.” The tech giant has already been granted a patent for such tech.

About the patent 

The tech giant says the computer mouse has become an essential component of desktop computing since graphical user interface was popularized in the 1980s with the introduction of the Mac. In the succeeding years, the computer mouse has undergone a series of innovations including the addition of a right- and left-click button, a scroll wheel, an optical sensor, a track ball sensor, a laser sensor, and wireless communication to the host computer. 

A mouse typically incorporates an ergonomic shape to fit comfortably into the hand, which is one factor that has kept its size relatively stable. Handheld mouse input is also well-suited for many types of precise tasks, such as graphic design, computer-assisted design and modeling, and editing large and complex documents. 

Apple notes that, in some cases, portable computing devices such as laptop and tablet computers benefit from using a peripheral mouse input device. However, the user is then burdened with carrying the separate mouse with the computer, and the separate device can be redundant when the computer already has built-in pointing devices. 

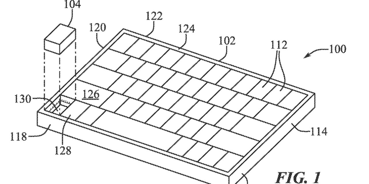
Apple says that, accordingly, there is a constant need for improvements and innovations to input devices for computer systems. One possible solution: a key that could be removed from a keyboard and used as a tiny mouse.

Summary of the patent

Here’s Apple’s abstract of the patent: “A computer input device can include a housing, a set of key switch mechanisms positioned in the housing, and a removable key structure that is operable between a first configuration positioned in the housing and a second configuration detached from the housing. 

“The removable key can have a position sensor, wherein in the first configuration, the removable key structure is operable to provide a key-based typing input, and, in the second configuration, the removable key structure is operable as a computer pointing device using the position sensor. The removable key structure can therefore allow comfortable, portable, and precise pointer input for a computer input system.”




Article provided with permission from AppleWorld.Today