Apple has been granted a patent (number 11,237,655) for a “concealable input region for an electronic device.” It seems to involve a possible input device for Macs and iPads.

About the patent

In the patent, Apple says that, in computing systems, an input device may be employed to receive input from a user. Some traditional input devices include large buttons, keys, or other mechanically-actuated structures. However, Apple says these types of input devices may lack flexibility or adaptability and may permanently indicate the presence of the input device within the computing system. 

The patent mentions input devices with illuminated virtual keys ore symbols. The symbols could, it seems, to be used to adjust harpness, contrast, brightness, color, optimal viewing angle, and/or other optical characteristics of a display. The device in question could also sport force and touch input.

Summary of the patent

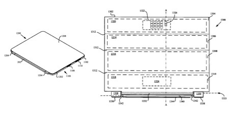
For those who like the technical details here’s Apple’s abstract of the patent: “Embodiments are directed to an electronic device having a hidden or concealable input region. In one aspect, an embodiment includes an enclosure having a wall that defines an input region having an array of microperforations. 

“A light source may be positioned within a volume defined by the enclosure and configured to propagate light through the array of microperforations. A sensing element may be coupled with the wall and configured to detect input received within the input region. The array of microperforations are configured to be visually imperceptible when not illuminated by the light source. When illuminated by the light source, the array of microperforations may display a symbol.”




Article provided with permission from AppleWorld.Today