Apple wants to make it easier for its various devices to share power. The company has filed for a patent (number 20210318738) for “methods and apparatus for enhanced power delivery between devices.”

About the patent filing

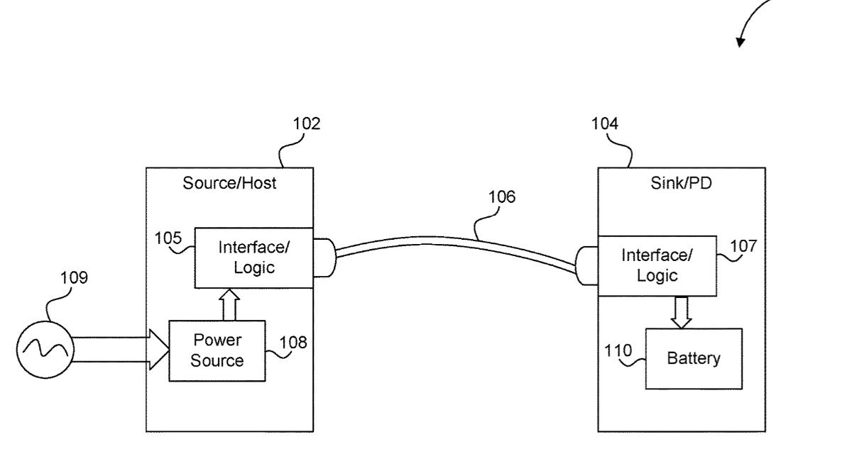
In the patent filing, Apple says that enhanced solutions are needed for delivering power to existing devices or applications, “and those that will be developed in the future, via existing port interfaces (including via potential future expansions or modifications/updates thereto), as well as other as-of-yet unforeseen interfaces which may transfer electrical power from one device to another.”

The tech giant says that such improved solutions should ideally both support delivery at higher power levels (e.g., above the extant 100 W limitation) and remain compatible with existing and legacy functions of the constituent devices and interfaces (e.g., USB-C and its predecessors in the exemplary context of USB interfaces), while also obeying all relevant regulations and tenets of electrical safety for users of powering (source) and powered (sink) devices. 

Summary of the patent filing

Here’s Apple’s abstract of the patent filing: “Methods and apparatus for enhanced power delivery between devices. In one embodiment, the power delivery is enhanced relative to legacy capabilities, and a source device negotiates with a sink device to establish a high-voltage (HV) power contract. In one variant, such HV operation enables power delivery greater than the legacy USB-C standard maximum of 20 V and 100 W. In one implementation, the source, sink, and/or source and sink collectively ensure that multiple criteria relating to power delivery are met for the interface (i.e., source, the sink, and the interposed cable or power delivery medium). 

“Multiple conditions, including enclosure construction compliance and device capabilities, must be cleared to ensure safety while operating beyond standard maximums. If the criteria are met, HV validation is complete, and the source may offer HV operation to the sink to establish the HV contract. Additional fail-safe mechanisms enable the HV contract to discontinue upon triggering.”




Article provided with permission from AppleWorld.Today