Apple has been granted a patent (number 11,137,908) for “keyboard operating with head-mounted device.” It involves the rumored “Apple Glasses,” an augmented reality/virtual reality head-mounted display (HMD).

About the patent

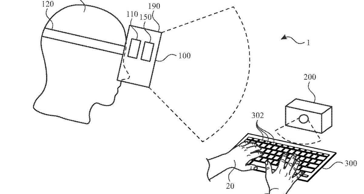
Basically, what the patent does is to allow Apple Glasses wearers to use any surface to project a virtual keyboard for typing. It could also provide voice commands for interacting with virtual and physical keyboards.

In the patent filing, Apple says an HMD can be used as a virtual reality (VR) system, an augmented reality (AR) system, and/or a mixed reality (MR) system. A user may observe outputs provided by the head-mounted device, such as visual information provided on a display. The display can optionally allow a user to observe an environment outside of the HMD. Other outputs provided by the head-mounted device can include audio output and/or haptic feedback. 

A user may further interact with the head-mounted device by providing inputs for processing by one or more components of the head-mounted device. For example, the user can provide tactile inputs, voice commands, and other inputs while the device is mounted to the user’s head. 

Summary of the patent

Here’s Apple’s abstract of the patent: “The operation of a keyboard, another input device, and/or any surface can be enhanced by features of a head-mounted device, which can display feedback, outputs, or other features based on the user’s actions. For example, the head-mounted device can display text generated by the user’s operation of the keyboard. The text can be displayed in a manner that allows a user to readily see the keyboard, the user’s hands, and the text that is generated by operation of the keyboard. 

“The head-mounted device can further display features that facilitate the user’s operation of the keyboard. For example, suggested text, keystrokes, or other features correlated with keys of the keyboard can be displayed for selection by a user. By further example, the keyboard can be displayed in a position and orientation that conforms to an arrangement of the user’s hands within a field of view of the head-mounted device.”

About Apple Glasses

When it comes to Apple Glasses, such a device will arrive in 2022 or 2023, depending on which rumor you believe. It will be a head-mounted display. Or may have a design like “normal” glasses. Or it may be eventually be available in both. The Apple Glasses may or may not have to be tethered to an iPhone to work. Other rumors say that Apple Glasses could have a custom-build Apple chip and a dedicated operating system dubbed “rOS” for “reality operating system.”

FIG. 1 illustrates a view of a head-mounted device and a keyboard in use.




Article provided with permission from AppleWorld.Today