Apple has been granted a patent (number 11,058,026) for an “air deflector for cooling system in a head-mounted device.”  It involves the rumored “Apple Glasses,” an augmented reality/virtual reality head-mounted display (HMD).

About the patent 

In the patent data, Apple says that the HMD display can optionally allow a user to observe an environment outside of the device itself. Other outputs provided by the head-mounted device can include speaker output and/or haptic feedback. A user may further interact with the head-mounted device by providing inputs for processing by one or more components of the head-mounted device. 

For example, the user can provide tactile inputs, voice commands, and other inputs while the device is mounted to the user’s head. However, all these features can resulting an HMD that runs hot. And, naturally, Apple wants its “Apple Glasses” to be comfortable when worn.

Summary of the patent

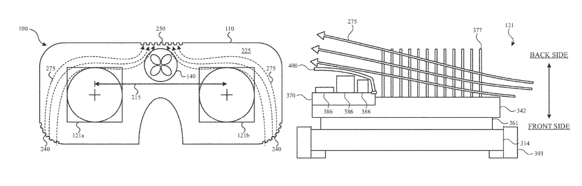
Here’s Apple’s summary of the patent: “A head-mounted device includes a housing configured to be worn on a head of a user. The housing includes an inlet port and an outlet port. An air circulation device is mounted to the housing and configured to produce a flow of air through an air flow path in the housing that extends from the inlet port to the outlet port. A display assembly is mounted to the housing and has a surface in the air flow path of the housing. An air deflector mounted to the surface of the display assembly and configured to reduce a turbulence of the flow of air through the air flow path.”

About “Apple Glasses”

When it comes to Apple Glasses, such a device will arrive this year or 2022, depending on which rumor you believe. The Sellers Research Group (that’s me) thinks Apple will at least preview it before the end of the year. 

It will be a head-mounted display. Or may have a design like “normal” glasses. Or it may be eventually be available in both. The Apple Glasses may or may not have to be tethered to an iPhone to work. Other rumors say that Apple Glasses could have a custom-build Apple chip and a dedicated operating system dubbed “rOS” for “reality operating system.”




Article provided with permission from AppleWorld.Today