An Apple patent (number 20120296744) for “custom stores” has appeared at the U.S. Patent & Trademark Office. Per the patent a custom store web page uses an external administrator to provide configuration data for a custom store web page. The configuration data can include virtual bundles of products for sale.

Here’s The present invention relates to electronic commerce sites, especially electronic commerce sites designed for the use of members of a group.

“Recently, with the expansion of the Internet, electronic commerce sites have become a powerful new way to buy and sell products. Typically, a consumer goes to a vender’s web site, selects a desired product, and purchases it using a credit card. The credit card information is usually encrypted in its transfer across the Internet to provide security. Upon verifying the credit-card information, the product(s) selected by the consumer are mailed from the vendor’s warehouse to the consumer.

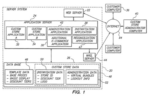
“Typically, electronic commerce sites are arranged as server systems. A web server receives requests from a client computer. The web server is associated with an application server that runs applications for the web server. Databases at the server system are used to store the item data including prices for the products on sale.

“It is desired to have an electronic commerce site especially tailored for certain groups. For example, in some situations it is useful to have an electronic commerce site for students of a specific university.

“One way to set up such a customized site is to have a designer produce a custom web site for each group. This can be quite time consuming if the number of custom sites is large. Additionally, consistency between the main store site and each custom store site becomes a significant problem as the number of custom sites increases. This is especially the case for electronic commerce sites in which prices and available products change constantly. For example, computer vendor web sites have component prices and availabilities that change daily.

“It is desired to have an improved way of providing a custom store for an electronic commerce site.”

The inventors are Eduardo Cue, Shaun Hilton, Glen D. Epis, Judy D. Halchin, Susan Pfendt and Cathy Ridenour.