Apple has been granted a patent (number 8259444) for a highly portable media device and a patent (number 8256913) for a housing for a computing device. They involve, respectively, the iPod nano and a laptop design.

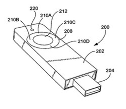
Patent number 825944 is for an improved portable media device and methods for operating a media device are disclosed. According to one aspect, the portable media device can also function as a solid-state drive for data storage. The form factor of the portable media device can be hand-held or smaller, such that it is highly portable. The portable media device can use one or more status indicators.

The portable media device can also include a peripheral bus connector, a rechargeable battery, and one or more input devices. According to another aspect, the portable media device has the capability to store media device status information in persistent memory before powering down.

Thereafter, when the portable media device is again powered up, the stored media player status information can be retrieved and utilized. According to still another aspect, the portable media device can form and/or traverse a media asset playlist in an efficient manner.

The inventors are Steve Jobs, Anthony M. Fadell and Jonathan P. Ive.

Patent number 8256913 involves a housing for a computing device. The improved housing is provided with one of an illuminable connector, a touch pad arrangement, and a palm rest stiffening plate. Normally, the illuminable connector and the touch pad arrangement are provided on external portions of a housing of the computing device such that they are available for user interaction. The palm rest stiffening plate is provided internal to a housing to provide stiffness or rigidity to a palm rest region of the housing.

Chris J. Novak is the inventor.